LEMON Manuals: Even more car manuals for everyone: 1960-2025
Home >> Pontiac >> 2009 >> Solstice L4-2.4L >> Repair and Diagnosis >> Specifications >> Mechanical Specifications >> Engine >> System Specifications >> Thread Repair Specifications
April 5, 2026: LEMON Manuals is launched! Read the announcement.

Thread Repair Specifications




Thread Repair Specifications

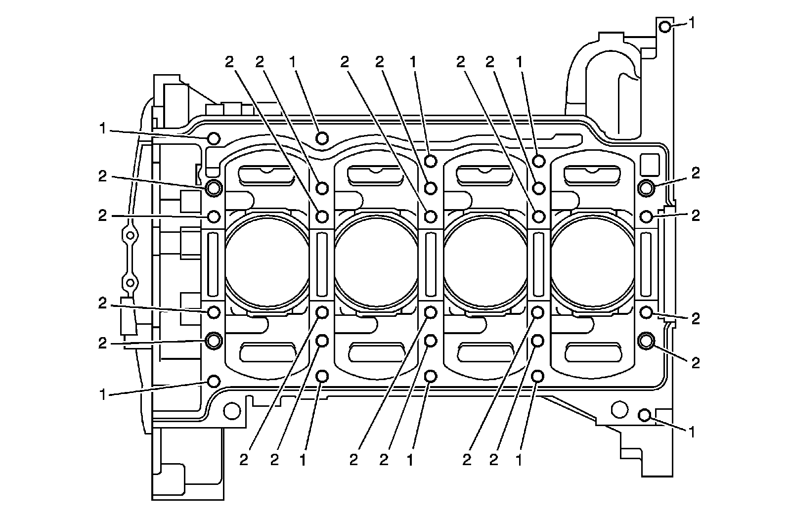
Engine Block - Front View









Engine Block - Back View









Engine Block - Right Side View









Engine Block - Left Side View









Engine Block - Bottom View









Engine Block - Top View









Lower Crankcase - Front View









Lower Crankcase - Back View









Lower Crankcase - Bottom View









Lower Crankcase - Right View









Lower Crankcase - Left View









Cylinder Head - Top View









Cylinder Head - Intake Manifold Deck View









Cylinder Head - Exhaust Manifold Deck View









Cylinder Head - Front View









Cylinder Head - Back View