LEMON Manuals: Even more car manuals for everyone: 1960-2025
Home >> Acura >> 1998 >> 3.5RL Base >> Repair and Diagnosis >> Brakes >> Traction Control >> Anti-Lock >> Component Testing >> Abs Pump Motor Relay
April 5, 2026: LEMON Manuals is launched! Read the announcement.

Abs Pump Motor Relay

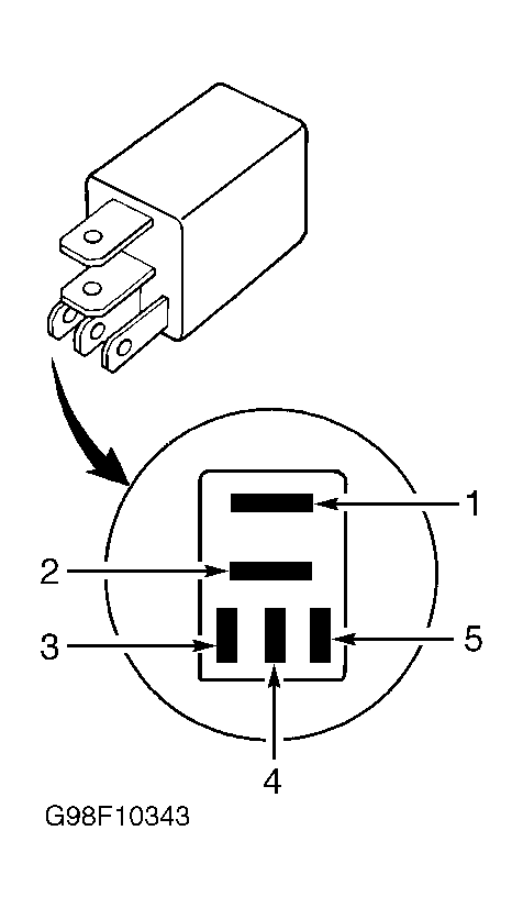
Remove relay from underhood fuse/relay block next to left strut tower. See Figure . With relay disconnected, use DVOM to check continuity between relay terminals No. and 3. See Fig 2 . Continuity should not exist. Apply battery voltage across terminals No. 2 and 4. Continuity should exist between terminals No. 1 and 3. If continuity is not as indicated, replace relay.

Fig 1: Identifying Fail-Safe Relay & Gauge Relay Terminals
G98F10343Courtesy of AMERICAN HONDA MOTOR CO., INC.
Fig 2: Identifying ABS Pump Motor Relay Terminals
G98C10324Courtesy of AMERICAN HONDA MOTOR CO., INC.