LEMON Manuals: Even more car manuals for everyone: 1960-2025
Home >> Acura >> 1999 >> NSX Base, 3.2 NA2 >> Repair and Diagnosis >> Engine Performance >> System >> Engine Controls - System & Component Testing >> Modules, Motors, Relays & Solenoids >> PGM-FI Main Relay >> Relay Testing
April 5, 2026: LEMON Manuals is launched! Read the announcement.

Relay Testing

  1. Remove the PGM-FI main relay.
  2. Attach the battery positive terminal to the No. 3 terminal and the battery negative terminal to the No. 2 terminal of the PGM-FI main relay. Then check for continuity between the No. 5 terminal and No. 2 terminal of the PGM-FI main relay. See Fig 1 . If there is continuity, go to next step. If there is no continuity, replace the relay and retest.
  3. Attach the battery positive terminal to the No. 4 terminal and the battery negative terminal to the No. 7 terminal of the PGM-FI main relay. Then check that there is continuity between the No. 3 terminal and No. 1 terminal of the PGM-FI main relay. If there is continuity, go to next step. If there is no continuity, replace the relay and retest.
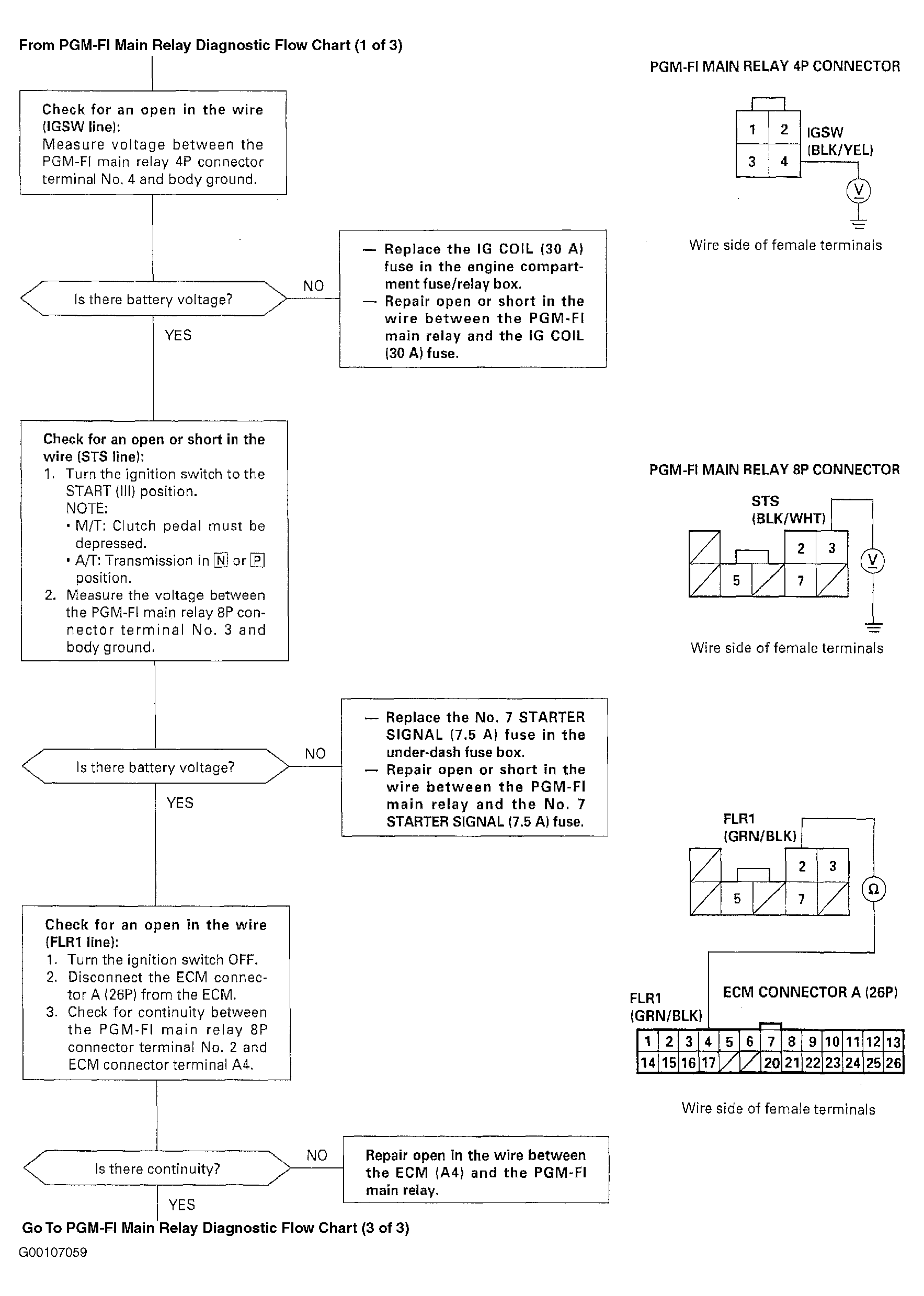
  4. Attach the battery positive terminal to the No. 1 terminal and battery negative terminal to the No. 2 terminal of the PGM-FI main relay. Then check that there is continuity between the No. 5 terminal and No. 2 terminal of the PGM-FI main relay. If there is no continuity, replace the relay and retest. If there is continuity, the relay is okay. For additional testing if the fuel pump still does not work, follow the flow charts. See Fig 2 -Fig 4 .
Fig 1: Identifying PGM-FI Main Relay Circuits & Terminals
G00107041Courtesy of AMERICAN HONDA MOTOR CO., INC.
Fig 2: PGM-FI Main Relay Diagnostic Flow Chart (1 Of 3)
G00107042Courtesy of AMERICAN HONDA MOTOR CO., INC.
Fig 3: PGM-FI Main Relay Diagnostic Flow Chart (2 Of 3)
G00107059Courtesy of AMERICAN HONDA MOTOR CO., INC.
Fig 4: PGM-FI Main Relay Diagnostic Flow Chart (3 Of 3)
G00107058Courtesy of AMERICAN HONDA MOTOR CO., INC.