LEMON Manuals: Even more car manuals for everyone: 1960-2025
Home >> Acura >> 2000 >> Integra GS-R, 4D Sedan >> Repair and Diagnosis >> Electrical >> Charging Systems >> Generators & Regulators >> Bench Testing >> Rectifier Diodes
April 5, 2026: LEMON Manuals is launched! Read the announcement.

Rectifier Diodes

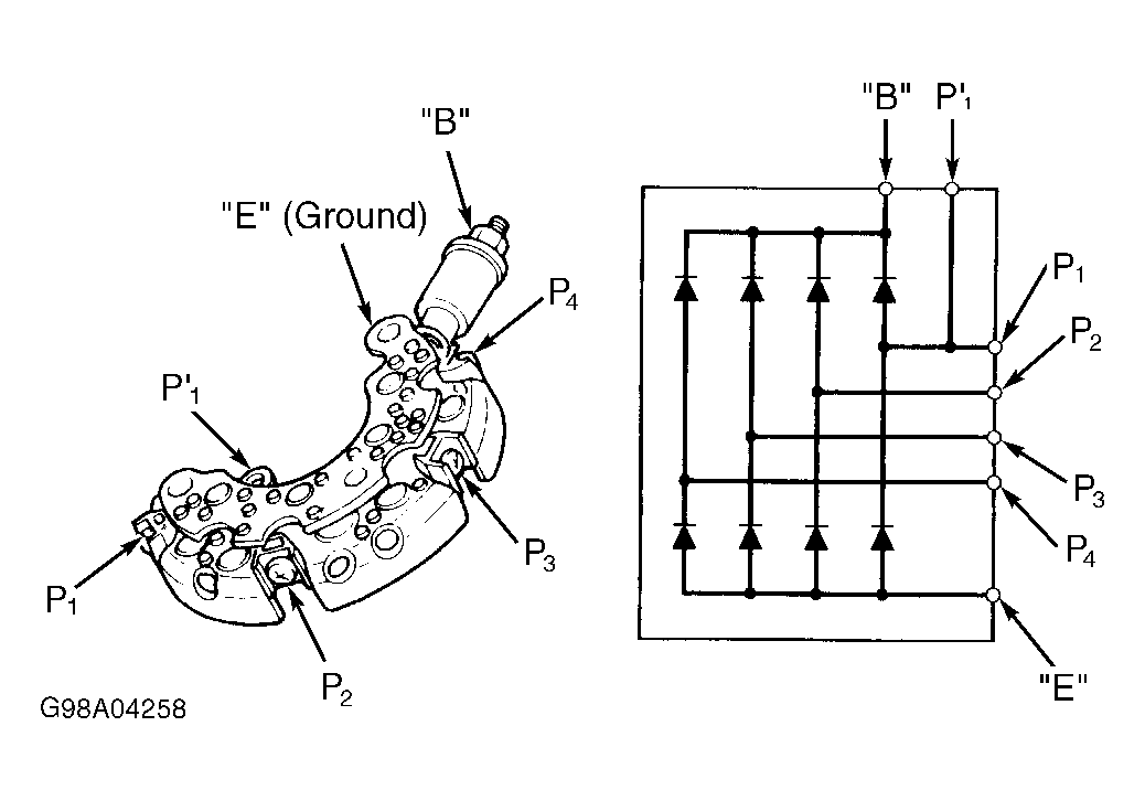
  1. Check continuity between rectifier assembly terminal "B" and terminals P1-P5, and between terminals "E" and P1-P5. See Fig 1 . Note ohmmeter reading.
  2. Reverse leads, and repeat test. Continuity should exist only in one direction. If continuity is not as specified, replace rectifier assembly.
Fig 1: Identifying Rectifier Terminals
G98A04258Courtesy of AMERICAN HONDA MOTOR CO., INC.