LEMON Manuals: Even more car manuals for everyone: 1960-2025
Home >> Acura >> 2001 >> 3.2CL Base >> Repair and Diagnosis >> External Pages >> Different car >> Section 35 (Automatic A/C Systems) >> A/C Pressure Switch Circuit Troubleshooting (Type S A/T Model)
April 5, 2026: LEMON Manuals is launched! Read the announcement.

A/C Pressure Switch Circuit Troubleshooting (Type S A/T Model)

WARNING: This page is about a different car, the 2003 Acura 3.2CL and 2002 Acura 3.2CL. However, it is still accessible from the selected car via links, so may be relevant.
  1. Disconnect the A/C pressure switch 4P connector.
  2. Turn the ignition switch ON (II).
  3. Measure the voltage between the No. 1 terminal of the A/C presure switch 4P connector and body ground.
    Fig 1: Measuring Voltage Between The A/C Presure Switch 4P Connector And Body Ground
    G01165266Courtesy of AMERICAN HONDA MOTOR CO., INC.

    Is there battery voltage ? 

    1. YES  : Go to step 4.
    2. NO  : Repair the open in the wire between A/C diode A, the PCM, and the A/C pressure switch.
  4. Turn the ignition switch OFF.
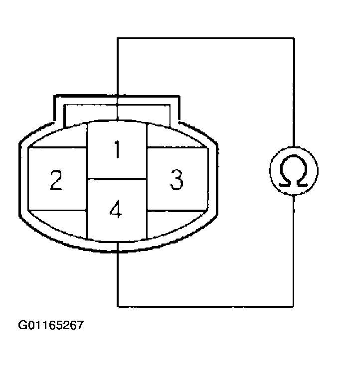
  5. Check for continuity between the No. 1 and No. 4 terminals of the A/C pressure switch.
    Fig 2: Checking Continuity Between The No. 1 And No. 4 Terminals Of The A/C Pressure Switch
    G01165267Courtesy of AMERICAN HONDA MOTOR CO., INC.

    Is there continuity ? 

    1. YES  : Go to step 6.
    2. NO  : Go to step 10.
  6. Reconnect the A/C pressure switch 4P connector.
  7. Disconnect climate control unit connector B (20P).
  8. Turn the ignition switch ON (II).
  9. Measure the voltage between the No. 11 terminal of climate control unit connector B (20P) and body ground.
    Fig 3: Measuring Voltage Between The Climate Control Unit Connector B (20P) And Body Ground
    G01165268Courtesy of AMERICAN HONDA MOTOR CO., INC.

    Is there battery voltage ? 

    1. YES  : Check for loose wires or poor connections at climate control unit connector B (20P) and at the A/C pressure switch 4P connector. If the connections are good, substitute a known-good climate control unit, and recheck. If the symptom/ indication goes away, replace the original climate control unit.
    2. NO  : Repair the open in the wire between the climate control unit and the A/C pressure switch.
  10. Check for proper A/C system pressure.

    Is the pressure within specifications ? 

    1. YES  : Replace the A/C pressure switch.
    2. NO  : Repair the A/C pressure problem.