LEMON Manuals: Even more car manuals for everyone: 1960-2025
Home >> Acura >> 2001 >> 3.2CL Base >> Repair and Diagnosis >> External Pages >> Different car >> Section 35 (Automatic A/C Systems) >> System Charging
April 5, 2026: LEMON Manuals is launched! Read the announcement.

System Charging

WARNING: This page is about a different car, the 2003 Acura 3.2CL and 2002 Acura 3.2CL. However, it is still accessible from the selected car via links, so may be relevant.
CAUTION:
  • Air conditioning refrigerant or lubricant vapor can irritate your eyes, nose, or throat.
  • Be careful when connecting service equipment.
  • Do not breathe refrigerant or vapor.

Use only service equipment that is U.L.-listed and is certified to meet the requirements of SAE J2210 to remove HFC-134a (R-134a) from the air conditioning system.

If accidental system discharge occurs, ventilate work area before resuming service.

Additional health and safety information may be obtained from the refrigerant and lubricant manufacturers.

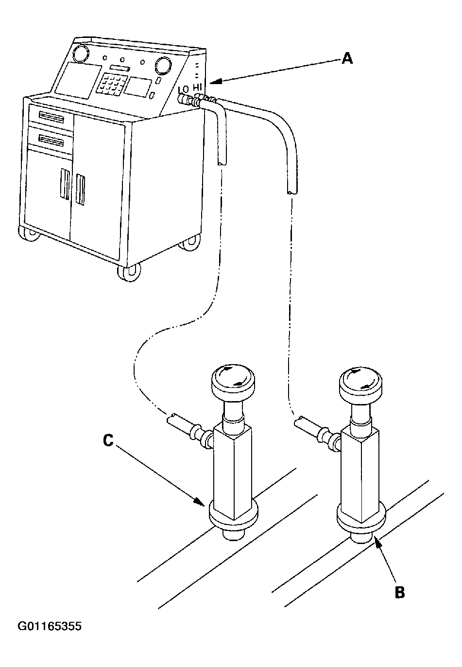
  1. Connect a R-134a refrigerant recovery/recycling/charging station (A) to the high-pressure service port (B) and the low-pressure service port (C), as shown, following the equipment manufacturer's instructions.
    Fig 1: Connecting A R-134A Refrigerant Recovery/Recycling/Charging Station
    G01165355Courtesy of AMERICAN HONDA MOTOR CO., INC.
  2. Evacuate the system (see SYSTEM EVACUATION ).
  3. Add the same amount of new refrigerant oil to the system that was removed during recovery. Use only DENSO ND-OIL 8 refrigerant oil.
  4. Charge the system with the specified amount of R-134a refrigerant. Do not overcharge the system; the compressor will be damaged.

    Select the appropriate units of measure for your refrigerant charging station.

    Refrigerant capacity: 

    600 to 650 g 

    0.60 to 0.65 kg 

    1.3 to 1.4 lbs 

    21.2 to 22.9 oz 

  5. Check for refrigerant leaks (see REFRIGERANT LEAK TEST ).
  6. Check for system performance (see PERFORMANCE TEST ).