LEMON Manuals: Even more car manuals for everyone: 1960-2025
Home >> Acura >> 2002 >> CL V6-3.2L SOHC >> Repair and Diagnosis >> Powertrain Management >> Computers and Control Systems >> Relays and Modules - Computers and Control Systems >> Engine Control Module >> Diagrams >> Diagnostic Aids >> General Troubleshooting Information
April 5, 2026: LEMON Manuals is launched! Read the announcement.

General Troubleshooting Information

General Troubleshooting Information

Tips and Precautions

Before Troubleshooting
1. Check applicable fuses in the appropriate fuse/relay box.
2. Check the battery for damage, state of charge, and clean and tight connections.

NOTE:
- Do not quick-charge a battery unless the battery ground cable has been disconnected, otherwise you will damage the alternator diodes.
- Do not attempt to crank the engine with the battery ground cable loosely connected or you will severely damage the wiring.

Handling Connectors
- Make sure the connectors are clean and have no loose wire terminals.
- Make sure multiple cavity connectors are packed with grease (except watertight connectors).




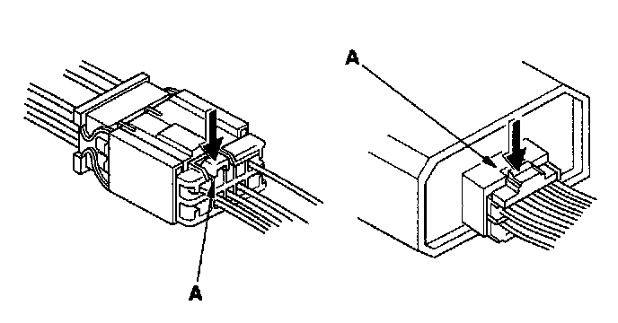
- All connectors have push-down release type locks (A).
- Some connectors have a clip on their side used to attach them to a mount bracket on the body or on another component. This clip has a pull type lock.




- Some mounted connectors cannot be disconnected unless you first release the lock and remove the connector from its mount bracket (A).
- Never try to disconnect connectors by pulling on their wires; pull on the connector halves instead.




- Always reinstall plastic covers.




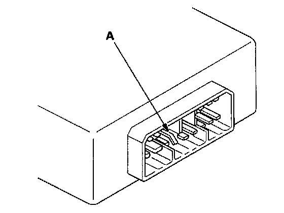
- Before connecting connectors, make sure the terminals (A) are in place and not bent.




- Check for loose retainer (A) and rubber seals (B).




- The backs of some connectors are packed with grease. Add grease if necessary. If the grease is contaminated, replace it.
- Insert the connector all the way and make sure it is securely locked.




- Position wires so that the open end of the cover faces down.

Handling Wires and Harnesses
- Secure wires and wire harnesses to the frame with their respective wire ties at the designated locations.




- Remove clips carefully; don't damage their locks (A).




- Slip pliers (A) under the clip base and through the hole at an angle, then squeeze the expansion tabs to release the clip.
- After installing harness clips, make sure the harness doesn't interfere with any moving parts.
- Keep wire harnesses away from exhaust pipes and other hot parts, from sharp edges of brackets and holes, and from exposed screws and bolts.




- Seat grommets in their grooves properly (A). Do not leave grommets distorted (B).

Testing and Repairs
- Do not use wires or harnesses with broken insulation. Replace them or repair them by wrapping the break with electrical tape.
- After installing parts, make sure that no wires are pinched under them.
- When using electrical test equipment, follow the manufacturer's instructions and those described.




- If possible, insert the probe of the tester from the wire side (except waterproof connector).




- Use a probe with a tapered tip.
- Refer to the instructions in the Honda Terminal Kit for identification and replacement of connector terminals.