LEMON Manuals: Even more car manuals for everyone: 1960-2025
Home >> Acura >> 2003 >> 3.2CL Base >> Repair and Diagnosis >> Engine Mechanical >> Mechanical >> 3.2L V6 Engine >> Torque Specifications
April 5, 2026: LEMON Manuals is launched! Read the announcement.

Torque Specifications

TORQUE SPECIFICATIONS

Application Lbs. (N.m)
A/C Compressor
Bracket-To-Block Bolts 32 (44)
Compressor Mounting Bolts 16 (22)
Auto-Tensioner Bolt (1)
Baffle Plate Bolt (1)
Bearing Cap Bolts 56 (76)
Camshaft
Back Cover Mounting Bolts 16 (22)
Pulley Bolt 66 (90)
Connecting Rod Bearing Cap Bolts 15 (20)
Crankshaft
Rear Seal Cover Bolts (1)
Pulley Bolt 181 (245)
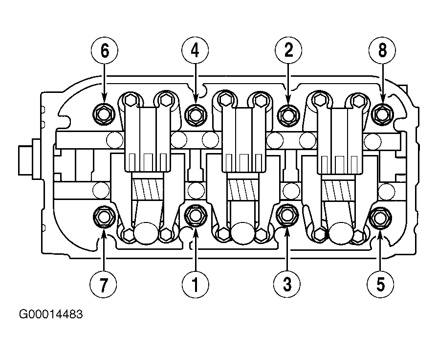
Cylinder Head Bolts (2)
1st Step 29 (39)
2nd Step 51 (69)
3rd Step 72 (98)
Cylinder Head Cover Bolts (1)(3)
Drain Plug 29 (39)
Drive Plate 54 (74)
Engine Drive Plate Mounting Bolts (4) 55 (75)
Engine Ground Strap Bolt 28 (38)
Engine Harness Cowl Cover Nuts (1)
Engine Mount Bracket-To-Block Bolts 32 (44)
Engine Oil Bolt 14 (20)
Engine Radius Rod Flange Bolts 119 (161)
Engine Upper Cover Bolts (1)(3)
Exhaust Manifold
Cover Bolts 16 (22)
Self-Locking Nuts 23 (31)
Flange Bolts 119 (162)
Flywheel 87 (118)
Frame Sub-Assembly
Front Mounting Bolts 76 (103)
Rear Extension Mounting Bolts 40 (54)
Rear Extension Nuts 28 (38)
Front Exhaust Pipe
Pipe-To-Catalytic Converter Self-Locking Nuts 24 (33)
Pipe-To-Manifold Self-Locking Nuts 40 (54)
Vacuum Tube Bracket Bolts 28 (38)
Front Mount
Bracket-To-Block Bolts 28 (38)
Bracket-To-Support Nut 40 (54)
Fuel Injector Base Nuts 16 (22)
Fuel Pulsation Damper 16 (22)
Ignition Coil Mounting Bolts (1)
Intake Air Temperature Sensor 13 (18)
Intake Manifold
Manifold Chamber Cover Bolts (1)
Mounting Bolts/Nuts (3) 16 (22)
Upper Cover Bolts/Nuts (1)
Vacuum Nipple 20 (27)
Main Bearing Caps
Side Bolts 36 (49)
Top Bolts 56 (76)
Oil Filter Housing Mounting Bolts 16 (22)
Oil Pan Mounting Bolts (1)
Oil Pressure Switch 13 (18)
Oil Pump
Cover Screws (5)
Mounting Bolts (1)
Relief Valve Sealing Bolt 29 (39)
Oil Screen Mounting Bolts (1)
Power Steering Mounting Nut/Bolt 17 (24)
Power Steering Pump Bracket Bolts 16 (22)
Radiator Upper Mounting Bolts (6)
Rear Mount
Bracket-To-Block Bolts 28 (38)
Bracket-To-Support Nut 40 (54)
Rocker Shaft Mounting Bolts (3) 18 (24)
Shift Control Lever
Cable Cover Bolts 16 (22)
Cable Holder Bolts (1)
End Bolt (7)
Side Engine Mount Bracket
Bracket-To-Body Vertical Bolts 32 (44)
Bracket-To-Support Horizontal Bolt 40 (54)
Strut Brace Nut 16 (22)
Thermostat Housing Bolts (1)
Throttle Body Mounting Bolts/Nuts 16 (22)
Timing Belt
Auto Tensioner Mounting Bolts (1)
Idler Pulley Bolt 32 (44)
Lower Cover Bolts (1)
Upper (Camshaft) Cover Bolts 16 (22)
Transmission Lower Rear Mount Bolts 28 (38)
Valve Adjusting Screw Lock Nut 14 (19)
VSP Speed Sensor Mount Bolts 16 (22)
VTEC Solenoid Valve Mounting Bolts (1)
Water Passage Assembly Mounting Bolts 16 (22)
Water Pump Mounting Bolts (1)
(1) Tighten to 106 INCH lbs. (12 N.m).
(2) Tighten in sequence shown in illustration. See Figure.
(3) Tighten in 2-3 steps.
(4) Tighten in crisscross pattern.
(5) Tighten to 53 INCH lbs. (6 N.m).
(6) Tighten to 89 INCH lbs. (10 N.m).
(7) Tighten to 124 INCH lbs. (14 N.m).