LEMON Manuals: Even more car manuals for everyone: 1960-2025
Home >> Acura >> 2004 >> 1.7EL Automatic >> Repair and Diagnosis >> Engine Performance >> System >> EVAP System >> DTC Troubleshooting >> Fuel Fill Cap Check
April 5, 2026: LEMON Manuals is launched! Read the announcement.

Fuel Fill Cap Check

  1. Check the fuel fill cap (the cap must say "if not tightened 3 clicks check engine light may come on").

    Is proper fuel fill cap installed and properly tightened? 

    1. YES  - Go to step 2.
    2. NO  - Replace or tighten the cap.
  2. Check the fuel fill cap seal.

    Is the fuel fill cap seal missing or damaged? 

    1. YES  - Replace the fuel fill cap (gray or black colored cap).
    2. NO  - Fuel fill cap is OK. Go to step 3.

    EVAP Canister Purge Valve Test 

  3. Disconnect the vacuum hose from the EVAP canister purge valve (A), and connect a vacuum pump to the hose.
    Fig 1: Disconnecting Vacuum Hose From EVAP Canister Purge Valve
    G01954944
  4. Turn the ignition switch ON (II).
  5. Apply vacuum to the hose.

    Does the valve hold vacuum? 

    1. YES  - EVAP canister purge valve is OK. Go to step  11.
    2. NO  - Go to step 6.
  6. Turn the ignition switch OFF.
  7. Disconnect the EVAP canister purge valve 2P connector.
  8. Check for continuity between the EVAP canister purge valve 2P connector terminal No. 2 and body ground.
    Fig 2: Checking Continuity Between EVAP Canister Purge Valve 2-Pin Connector Terminal No. 2 & Body Ground
    G01954945

    Is there continuity? 

    1. YES  - Go to step 9.
    2. NO  - Replace the EVAP canister purge valve.
  9. Disconnect ECM/PCM connector B (24P).
  10. Check for continuity between the EVAP canister purge valve 2P connector terminal No. 2 and body ground.
    Fig 3: Checking Continuity Between EVAP Canister Purge Valve 2-Pin Connector Terminal No. 2 & Body Ground
    G01954946

    Is there continuity? 

    1. YES  - Repair short in the wire between the EVAP canister purge valve and the ECM/PCM (B21).
    2. NO  - Reprogram the ECM/PCM if it does not have the latest software, or substitute a known-good ECM/PCM, then recheck (see ECM/PCM REPROGRAMMING AND SUBSTITUTION FOR TESTING ). If the symptom/indication goes away with a known-good ECM/PCM, replace the original ECM/PCM.

    EVAP Bypass Solenoid Valve Test 

  11. Disconnect both vacuum hoses from the EVAP two way valve (A), and connect a vacuum pump to the canister port on the EVAP two way valve.
    Fig 4: Disconnecting Both Vacuum Hoses From EVAP Two Way Valve
    G01954947
  12. Turn the EVAP bypass solenoid valve ON with the Honda PGM Tester, or connect ECM/PCM connector terminal E20 to body ground with a jumper wire.
    Fig 5: Connecting ECM/PCM Connector Terminal E20 To Body Ground
    G01954948
  13. Turn the ignition switch ON (II).
  14. Apply vacuum to the hose.

    Does the valve hold vacuum? 

    1. YES  - Go to step 15.
    2. NO  - Go to step  20.
  15. Turn the ignition switch OFF.
  16. Disconnect the EVAP bypass solenoid valve 2P connector.
  17. Check for continuity between the EVAP bypass solenoid valve 2P connector terminal No. 2 and body ground.
    Fig 6: Checking Continuity Between EVAP Bypass Solenoid Valve 2-Pin Connector Terminal No. 2 & Body Ground
    G01954949

    Is there continuity? 

    1. YES  - Go to step 18.
    2. NO  - Repair open in the wire between the EVAP bypass solenoid valve and the ECM/PCM (E20).
  18. Turn the ignition switch ON (II).
  19. Measure voltage between the EVAP bypass solenoid valve 2P connector terminal No. 1 and body ground.
    Fig 7: Measuring Voltage Between EVAP Bypass Solenoid Valve 2-Pin Connector Terminal No. 1 & Body Ground
    G01954950
    Fig 8: Replacing EVAP Two Way/Bypass Solenoid Valves
    G01954951

    Is there battery voltage? 

    1. YES  - Replace the EVAP two way/bypass solenoid valves (A).
    2. NO  - Repair open in the wire between the EVAP bypass solenoid valve and the No. 4 ACG (10A) fuse.
  20. Plug the fuel tank port (A) of the EVAP two way valve.
    Fig 9: Plugging Fuel Tank Port Of EVAP Two Way Valve
    G01954952
  21. While monitoring the FTP sensor voltage with the Honda PGM Tester, or measuring the voltage between ECM/PCM connector terminals E4 and E14, slowly pump the vacuum pump until the voltage drops to about 1.5 volts.
    Fig 10: Measuring Voltage Between ECM/PCM Connector Terminals E4 & E14
    G01954953

    Does the voltage drop to 1.5 V and hold for at least 20 seconds? 

    1. YES  - EVAP bypass solenoid valve/EVAP two way valve is OK. Go to step 22.
    2. NO  - Repair leak from EVAP bypass solenoid valve, EVAP two way valve and FTP sensor.

    EVAP Canister Vent Shut Valve Test 

  22. Disconnect the vacuum hose from the EVAP canister vent filter (A), and connect a vacuum pump to the hose.
    Fig 11: Disconnecting Vacuum Hose From EVAP Canister Vent Filter
    G01954954
  23. Turn the ignition switch ON (II).
  24. Apply vacuum to the hose with 5 strokes of the pump.

    Does the valve hold vacuum? 

    1. YES  - Go to step 25.
    2. NO  - EVAP canister vent shut valve is OK. Go to step  30.
  25. Turn the ignition switch OFF.
  26. Disconnect the EVAP canister vent shut valve 2P connector.
  27. Check for continuity between the EVAP canister vent shut valve 2P connector terminal No. 2 and body ground.
    Fig 12: Checking Continuity Between EVAP Canister Vent Shut Valve 2-Pin Connector Terminal No. 2 & Body Ground
    G01954955
    Fig 13: Replacing EVAP Canister Vent Shut Valve & O-Ring
    G01954956

    Is there continuity? 

    1. YES  - Go to step 28.
    2. NO  - Replace the EVAP canister vent shut valve (A) and O-ring (B).
  28. Disconnect ECM/PCM connector E (31P).
  29. Check for continuity between the EVAP canister vent solenoid valve 2P connector terminal No. 2 and body ground.
    Fig 14: Checking Continuity Between EVAP Canister Vent Solenoid Valve 2-Pin Connector Terminal No. 2 & Body Ground
    G01954957

    Is there continuity? 

    1. YES  - Repair short in the wire between the EVAP canister vent shut valve and the ECM/PCM (E21).
    2. NO  - Reprogram the ECM/PCM if it does not have the latest software, or substitute a known-good ECM/PCM, then recheck (see ECM/PCM REPROGRAMMING AND SUBSTITUTION FOR TESTING ). If the symptom/indication goes away with a known-good ECM/PCM, replace the original ECM/PCM.

    Vacuum Hoses and Connections Test 

  30. Perform the fuel tank vapor control valve test (see Fuel Tank Vapor Control Valve Test  ).

    Is the fuel tank vapor control valve OK? 

    1. YES  - Go to step 31.
    2. NO  - Replace the fuel tank vapor control valve.
  31. Tighten the fuel cap 3 "clicks", then monitor the FTP readings with the Honda PGM Tester.
  32. Start the engine and let the engine idle for 5 minutes.
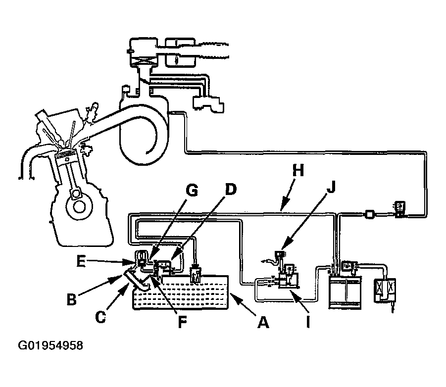
  33. Check the FTP sensor readings.
    Fig 15: Checking FTP Sensor Readings
    G01954958

    Is the reading above 0.5 kpa (4 mm Hg, 0.16 in. Hg) pressure or below - 0.5 kpa (4 mm Hg, 0.16 in. Hg) vacuum? 

    1. YES  - Reprogram the ECM/PCM if it does not have the latest software, or substitute a known-good ECM/PCM, then recheck (see ECM/PCM REPROGRAMMING AND SUBSTITUTION FOR TESTING ). If the symptom/indication goes away with a known-good ECM/PCM, replace the original ECM/PCM.
    2. NO  - Check the following parts for leaks:
      • Fuel tank (A)
      • Fuel fill cap (B)
      • Fuel fill pipe (C)
      • Fuel tank vapor control valve (D)
      • Fuel tank vapor recirculation valve (E)
      • Fuel tank vapor recirculation tube (F)
      • Fuel tank vapor signal tube (G)
      • Fuel tank vapor control vent tube (H)
      • FTP sensor (J)
        • If necessary, repair or replace the parts.