LEMON Manuals: Even more car manuals for everyone: 1960-2025
Home >> Acura >> 2004 >> MDX Base >> Repair and Diagnosis (Single Page) >> Accessories & Equipment >> Communication Devices >> Multi-Information System (Without Navigation) >> Electrical Compass Unit Input Test
April 5, 2026: LEMON Manuals is launched! Read the announcement.

Electrical Compass Unit Input Test

  1. Remove the headliner (see HEADLINER REMOVAL/INSTALLATION ).
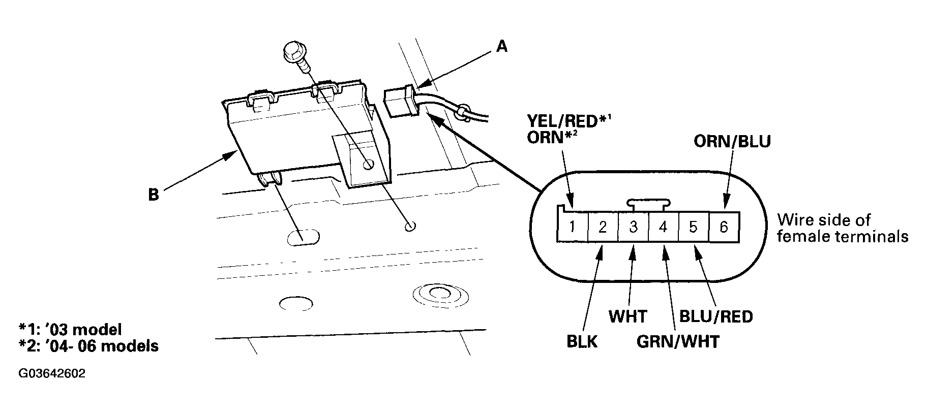
  2. Disconnect the 6P connector (A) from the electrical compass unit (B).
    Fig 1: Disconnecting 6P Connector From Electrical Compass Unit
    G03642602Courtesy of AMERICAN HONDA MOTOR CO., INC.
  3. Inspect the connector and socket terminals to be sure they are all making good contact.
    • If the terminals are bent, loose, or corroded, repair them as necessary, and recheck the system.
    • If the terminals look OK, go to step 4.
  4. Reconnect the connector to the electrical compass unit, and perform the following input tests at the connectors.
    • If any test indicates a problem, find and correct the cause, them recheck the system.
    • If all input tests prove OK, the electrical compass unit must be faulty; replace it, and do the compass calibration (see COMPASS CALIBRATION  ).
    ELECTRICAL COMPASS UNIT (RECONNECTED)

    Cavity Wire Test Condition Test: Desired result Possible cause if result is not obtained
    2 BLK Under all conditions Check for voltage to ground: There should be less than 1 V.
    • Poor ground (G652)
    • An open in the wire
    1 YEL/RED(1) ORN(2) Ignition switch ON (II) Check for voltage to ground: There should be battery voltage.
    • Blown No. 5 (10 A)(1) or No. 4 (7.5 A)(2) fuse in the driver's under-dash fuse/relay box
    • An open in the wire
    3 WHT Under all conditions Check for voltage to ground: There should be about 4 V.
    • Faulty display unit
    • An open in the wire
    • A short to ground in the wire
    4 GRN/WHT Under all conditions Check for voltage to ground: There should be about 4 V.
    • Faulty display unit
    • An open in the wire
    • A short to ground in the wire
    5 BLU/RED Under all conditions Check for voltage to ground: There should be about 4 V.
    • Faulty display unit
    • An open in the wire
    • A short to ground in the wire
    6 ORN/BLU Under all conditions Check for voltage to ground: There should be about 4 V.
    • Faulty display unit
    • An open in the wire
    • A short to ground in the wire
    (1) '03 Model
    (2) '04-06 Models