LEMON Manuals: Even more car manuals for everyone: 1960-2025
Home >> Acura >> 2004 >> MDX Base >> Repair and Diagnosis >> External Pages >> Different car >> Section 89 (Climate Control System) >> Humidity/In-car Temperature Sensor Replacement
April 5, 2026: LEMON Manuals is launched! Read the announcement.

Humidity/In-car Temperature Sensor Replacement

WARNING: This page is about a different car, the 2009 Acura MDX, 2008 Acura MDX, and 2007 Acura MDX. However, it is still accessible from the selected car via links, so may be relevant.
  1. Remove the driver's dashboard lower cover (see DRIVER'S DASHBOARD LOWER COVER REMOVAL/INSTALLATION ).
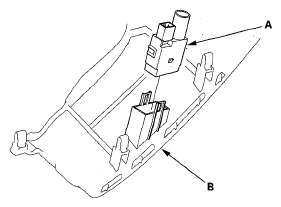
  2. Remove the humidity/in-car temperature sensor (A) from the driver's dashboard lower cover (B).
    Fig 1: Identifying Humidity/In-Car Temperature Sensor And Driver's Dashboard Lower Cover
    G05487688Courtesy of AMERICAN HONDA MOTOR CO., INC.
  3. Install the sensor in the reverse order of removal. Be sure to connect the air hose securely.