LEMON Manuals: Even more car manuals for everyone: 1960-2025
Home >> Acura >> 2004 >> TL Automatic >> Repair and Diagnosis >> Transmission >> Automatic Trans >> Automatic Transmission >> System Description >> Electronic Control System >> Lock-up Control
April 5, 2026: LEMON Manuals is launched! Read the announcement.

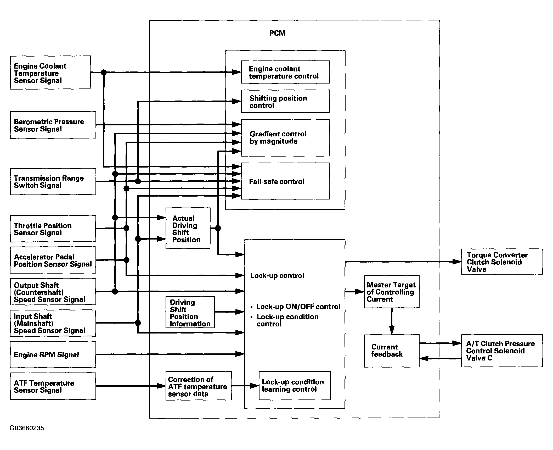
Lock-up Control

The torque converter clutch solenoid valve controls the hydraulic pressure to switch the lock-up shift valve and lock-up ON and OFF. The PCM actuates the torque converter clutch solenoid valve and the A/T clutch pressure control solenoid valve to start lock-up. The A/T clutch pressure control solenoid valve C applies and regulates the hydraulic pressure to the lock-up control valve to control the amount of the lock-up.

The lock-up mechanism operates in the D position (2nd, 3rd, 4th, and 5th).

Fig 1: Lock-Up Control Flow Chart
G03660235Courtesy of AMERICAN HONDA MOTOR CO., INC.