LEMON Manuals: Even more car manuals for everyone: 1960-2025
Home >> Acura >> 2004 >> TL V6-3.2L >> Repair and Diagnosis >> Relays and Modules >> Relays and Modules - Restraints and Safety Systems >> Air Bag Control Module >> Service and Repair >> OPDS Unit Replacement
April 5, 2026: LEMON Manuals is launched! Read the announcement.

OPDS Unit Replacement

OPDS Unit Replacement

NOTE: Review the seat replacement procedure before doing repairs or service.

Removal
1. Disconnect the battery negative cable, and wait at least 3 minutes before beginning work.
2. Disconnect the passenger's side airbag harness 2P connector.
3. Remove the passenger's seat assembly and seat-back cover.




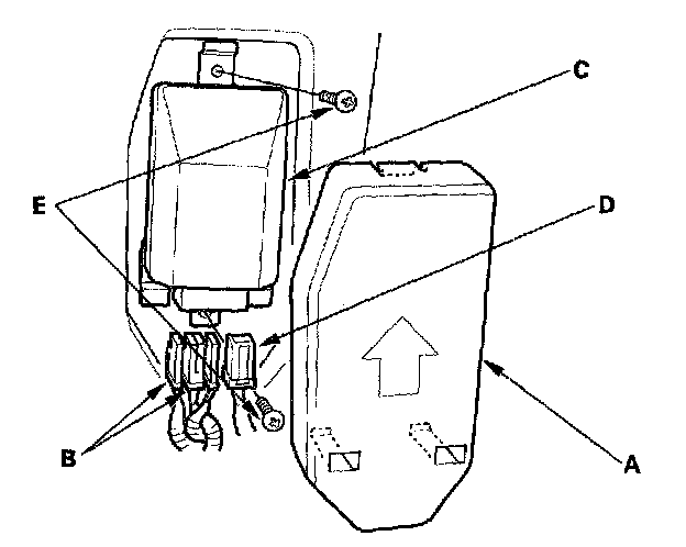
4. Remove the cover (A), then disconnect the OPDS unit 8P connector D and sensor connectors (B) from the OPDS unit (C).

Installation




1. Place the new OPDS unit (A) on the seat-back frame. Tighten the two screws (B), and connect the OPDS unit 8P connector D and sensor connectors (C) to the OPDS unit. Reinstall the cover (E).
2. Install the seat-back cover in the reverse order of removal.
3. Install the seat assembly, then connect the side airbag harness 2P connector.
4. Reconnect the battery negative cable.
5. Set the seat-back in a normal position, and make sure there is nothing on the front passenger's seat.
6. Initialize the OPDS unit.
7. After installing the OPDS unit, confirm proper system operation: Turn the ignition switch ON (II); the SRS indicator should come on for about 6 seconds and then go off.