LEMON Manuals: Even more car manuals for everyone: 1960-2025
Home >> Acura >> 2007 >> MDX >> Repair and Diagnosis >> Transmission >> Automatic Trans >> Automatic Transmission >> System Description >> Electronic Control System >> Lock-up Control
April 5, 2026: LEMON Manuals is launched! Read the announcement.

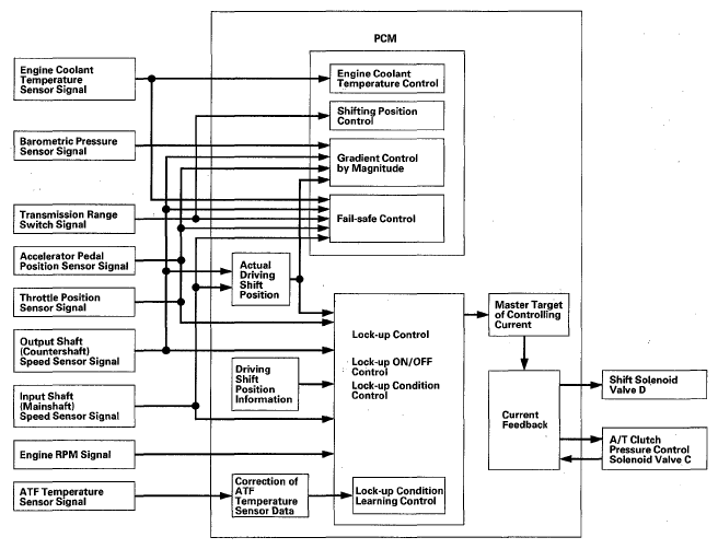
Lock-up Control

Shift solenoid valve D controls the hydraulic pressure to switch the lock-up shift valve and lock-up ON and OFF. The PCM actuates shift solenoid valve D and A/T clutch pressure control solenoid valve C ON, the condition of lock-up starts. A/T clutch pressure control solenoid valve C regulates and applies hydraulic pressure to the lock-up control valve to control the volume of the lock-up.

The lock-up mechanism operates in 2nd, 3rd, 4th, and 5th gears in D, and in 2nd and 3rd gears in D3.

Fig 1: Lock-Up Control System Diagram
G05485425Courtesy of AMERICAN HONDA MOTOR CO., INC.