LEMON Manuals: Even more car manuals for everyone: 1960-2025
Home >> Acura >> 2007 >> MDX >> Repair and Diagnosis >> Transmission >> Automatic Trans >> Automatic Transmission >> System Description >> Electronic Control System >> Shift Control - Grade Logic Control
April 5, 2026: LEMON Manuals is launched! Read the announcement.

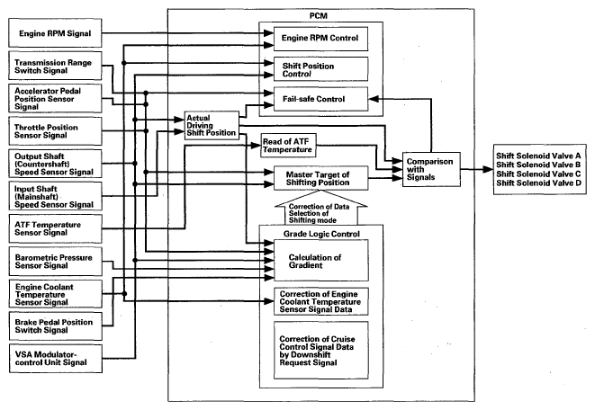
Shift Control - Grade Logic Control

The grade logic control system has been adopted to control shifting in D and D3. The PCM compares actual driving conditions with memorized driving conditions, based on the input from the throttle position sensor, the engine coolant temperature sensor, the barometric pressure sensor, the brake pedal position switch signal, and the shift lever position signal, to control shifting while the vehicle is ascending or descending a slope.

Fig 1: Grade Logic Control System Diagram
G05485419Courtesy of AMERICAN HONDA MOTOR CO., INC.