LEMON Manuals: Even more car manuals for everyone: 1960-2025
Home >> Acura >> 2007 >> MDX >> Repair and Diagnosis >> Transmission >> Automatic Trans >> Automatic Transmission >> Transfer Assembly Inspection
April 5, 2026: LEMON Manuals is launched! Read the announcement.

Transfer Assembly Inspection

  1. Raise the vehicle on a lift, and make sure it is supported securely.
  2. Shift the transmission into N.
  3. Make a reference mark (A) across the propeller shaft (B) and the transfer companion flange (C).
    Fig 1: Reference Mark Across Propeller Shaft And Transfer Companion Flange With Torque Specification
    G05485654Courtesy of AMERICAN HONDA MOTOR CO., INC.
  4. Separate the propeller shaft from the transfer companion flange.
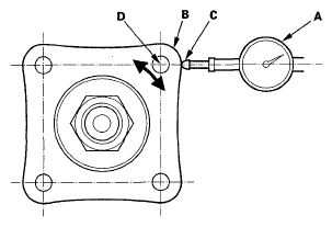
  5. Set a dial indicator (A) on the transfer companion flange (B); position dial indicator tip (C) on the direct extension of the bolt hole center (D).
    Fig 2: Identifying Transfer Gear Backlash
    G05485655Courtesy of AMERICAN HONDA MOTOR CO., INC.
  6. Measure the transfer gear backlash.

    Standard: 0.06-0.16 mm (0.002-0.006 in.) 

  7. If the measurement is out of standard, remove the transfer assembly, and adjust the transfer gear backlash (see REASSEMBLY  ).
  8. Check for fluid leaks between the mating faces of the transfer assembly and transmission.
  9. If there is leak, remove the transfer assembly, remove the transfer cover, and replace the O-ring.
  10. Check for fluid leaks between the transfer companion flange and transfer oil seal.
  11. If there is leak, remove the transfer assembly from the transmission, and replace the transfer oil seal and O-ring on the transfer output shaft (hypoid gear). If oil seal and O-ring replacement is required, you will need to check and adjust the transfer gear tooth contact, transfer gear backlash, the tapered roller bearing starting torque, and the total starting torque (see REASSEMBLY  ). Do not replace the oil seal with the transfer assembly on the transmission.