LEMON Manuals: Even more car manuals for everyone: 1960-2025
Home >> Acura >> 2007 >> RL V6-3.5L >> Repair and Diagnosis >> Body and Frame >> Locks >> Keyless Entry >> Keyless Starting System >> Testing and Inspection
April 5, 2026: LEMON Manuals is launched! Read the announcement.

Keyless Starting System: Testing and Inspection




Power Relay Test

Use this chart to identify the type of relay, then do the test listed for it.

NOTE: For the turn signal/hazard relay 1 input test, refer to Lighting and Horns.

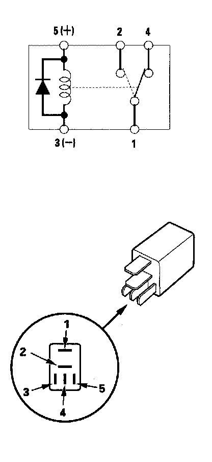
Five-terminal type B




Check for continuity between the terminals.
- There should be continuity between the No. 1 and No. 2 terminals when power is connected to the No. 5 terminal and ground the No. 3 terminal.
- There should be continuity between the No. 1 and No. 4 terminals when power is disconnected.