LEMON Manuals: Even more car manuals for everyone: 1960-2025
Home >> Acura >> 2008 >> RL V6-3.5L >> Repair and Diagnosis >> Specifications >> Mechanical Specifications >> Engine >> System Specifications >> General Specifications
April 5, 2026: LEMON Manuals is launched! Read the announcement.

General Specifications

Cylinder Head

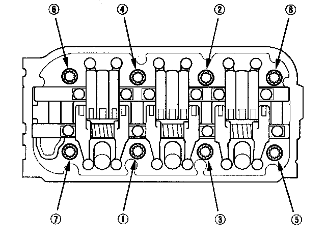
6 Point

Tighten bolts sequentially in three steps:

1st Step Torque 39 N-m (4.0 kgf-m, 29 lbf-ft)

2nd Step Torque 69 N-m (7.0 kgf-m, 51 lbf-ft)

3rd Step Torque 98.1 N-m (10.0 kgf-m, 72.3 lbf-ft)





12 Point

Torque in sequence 29 N-m (3.0 kgf-m, 22 lbf-ft).

After torquing, tighten in 2 steps (90° per step).

New bolt extra 90°.








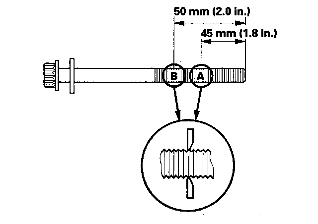
Measure the diameter of each cylinder head bolt at point A and point B.





If either diameter is less than 11.3 mm (0.44 in.), replace the cylinder head bolt.

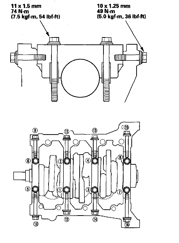
Main Bearing





Rod Bearing

Torque the bolts (B) 20 N-m (2.0 kgf-m, 14 lbf-ft) +90°








Crankshaft Pulley

Torque 64 N-m (6.5 kgf-m, 47 lbf-ft) +60°





Oil Pump





Water Pump