LEMON Manuals: Even more car manuals for everyone: 1960-2025
Home >> Acura >> 2009 >> CSX Base, Standard >> Repair and Diagnosis >> External Pages >> Different car >> Section 17 (Climate Control System) >> Climate Control >> System Charging
April 5, 2026: LEMON Manuals is launched! Read the announcement.

System Charging

WARNING: This page is about a different car, the 2011 Acura TL, 2010 Acura TL, and 2009 Acura TL. However, it is still accessible from the selected car via links, so may be relevant.
CAUTION:
  • Air conditioning refrigerant or lubricant vapor can irritate your eyes, nose, or throat
  • Be careful when connecting service equipment
  • Do not breathe refrigerant or vapor
NOTE:
  • If accidental system discharge occurs, ventilate the work area before resuming service
  • Additional health and safety information may be obtained from the refrigerant and lubricant manufacturers
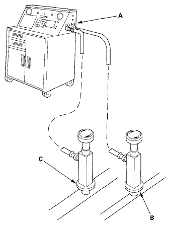
  1. Connect an R-134a refrigerant recovery/recycling/charging station (A) to the high-pressure service port (B) and the low-pressure service port (C), as shown, following the equipment manufacturer's instructions
    Fig 1: Identifying High-Pressure Service Port And Low-Pressure Service Port
    G05988752Courtesy of AMERICAN HONDA MOTOR CO., INC.
  2. Recover the refrigerant in the A/C system (see RECEIVER/DRYER DESICCANT REPLACEMENT )
  3. Evacuate the system (see SYSTEM EVACUATION ) If the system cannot reach a vacuum of -93 3 kPa (700 mmHg, 27 6 in Hg) in 15 minutes, or cannot hold a vacuum for at least 15 minutes, there is probably a leak Do the refrigerant leak check (see REFRIGERANT LEAK CHECK ), and repair any leaks before charging the system
  4. Add the same amount of new refrigerant oil to the system that was removed during recovery Use only DENSO ND-OIL 8 refrigerant oil
  5. Charge the system with the specified amount of R-134a refrigerant Do not overcharge the system, the A/C compressor will be damaged

    Select the appropriate units of measure for your refrigerant charging station

    Refrigerant Capacity 

    500 to 550 g (17.6 to 19.4 oz) 

    0.50 to 0.55 kg 

    1.1 to 1.2 lbs 

  6. Check for refrigerant leaks (see REFRIGERANT LEAK CHECK )
  7. Check the system performance (see A/C SYSTEM TEST )