LEMON Manuals: Even more car manuals for everyone: 1960-2025
Home >> Acura >> 2010 >> TL AWD V6-3.7L >> Repair and Diagnosis >> Powertrain Management >> Computers and Control Systems >> Fuel Level Sensor >> Service and Repair >> Fuel Tank Unit Removal/Installation
April 5, 2026: LEMON Manuals is launched! Read the announcement.

Fuel Tank Unit Removal/Installation




Fuel Tank Unit Removal and Installation

Special Tools Required

- Fuel Sender Wrench 07AAA-S0XA100

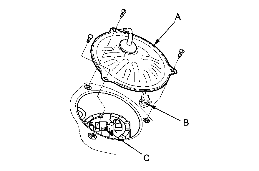
Removal (with SH-AWD)

1. Relieve the fuel pressure Service and Repair.

2. Remove the rear seat cushion Rear Seat Removal/Installation.

3. Remove the access panel (A) from the left side of the floor.





4. Disconnect the fuel tank unit 4P connector (B).

5. Disconnect the quick-connect fitting (C) from the fuel tank unit.

6. Using the special tool, loosen the locknut (A).






7. Remove the locknut (A), and lift up the fuel tank unit (B).





8. Disconnect the transfer tube (C), and remove the fuel tank unit.

Installation (with SH-AWD)

1. Temporarily attach a new base gasket (A) to the fuel tank unit (B), position the mark of the transfer tube (C) up, connect the transfer tube (D), then insert the fuel tank unit partially into the fuel tank.

NOTE:

- Be careful not to damage the new base gasket.
- Make sure the clamp (E) is positioned as shown.
- Be careful not to bend the fuel gauge sending unit.
- Do not coat the base gasket with oil.





2. Transfer the base gasket (A) from the fuel tank unit to the fuel tank.





3. Align the marks (B) on the fuel tank and the fuel tank unit, then insert it straight into the fuel tank. Make sure it evenly contacts the base gasket.

NOTE: To prevent a fuel leak, check the base gasket, visually or by hand, to make sure it is not pinched.

4. Tighten a new locknut (A) by hand with a new locknut plate (B).

NOTE: Before tightening, align the mark (C) on the locknut with the start of the threads (D).






5. Using the special tool, tighten the locknut to the specified torque.

NOTE:

- After tightening, make sure the marks (A) are still aligned.
- After installation, check the base gasket, visually or by hand, to be sure it is not pinched.





6. Connect the fuel tank unit 4P connector, then connect the quick-connect fitting.

7. Reconnect the negative cable to the battery, and turn the ignition switch to ON (II) or press the engine start/stop button to select the ON mode (but do not operate the starter motor). The fuel pump runs for about 2 seconds, and fuel pressure rises. Repeat two or three times, and make sure there are no fuel leaks.

8. Install the access panel.

9. Install the rear seat cushion Rear Seat Removal/Installation.

10. Install the fuel fill cap.