LEMON Manuals: Even more car manuals for everyone: 1960-2025
Home >> Acura >> 2010 >> ZDX V6-3.7L >> Repair and Diagnosis >> Cruise Control >> Relays and Modules - Cruise Control >> Cruise Control Module >> Service and Repair
April 5, 2026: LEMON Manuals is launched! Read the announcement.

Cruise Control Module: Service and Repair




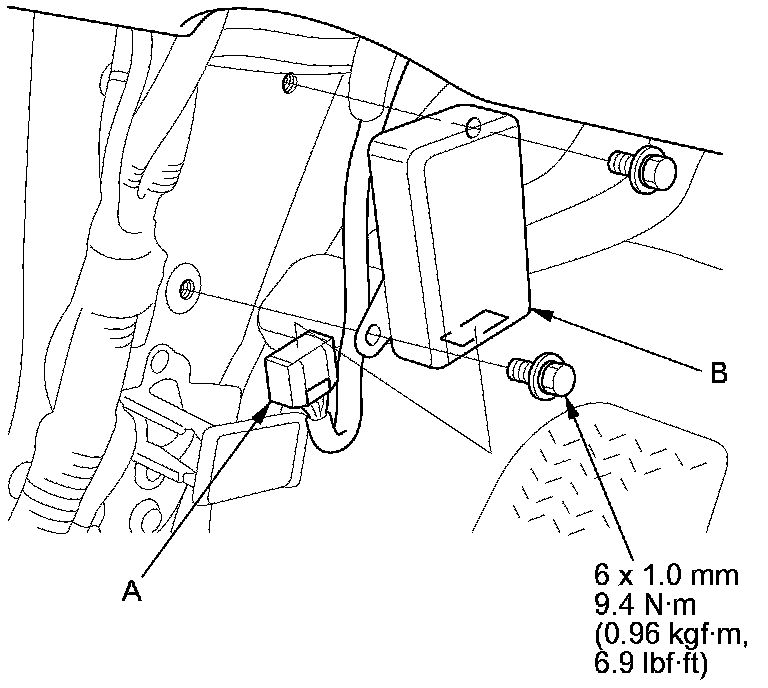
Adaptive Cruise Control (ACC) Unit Removal/Installation

1. Remove the driver's side kick panel Service and Repair.

2. Disconnect the 20P connector (A) from the ACC unit (B), then remove the ACC unit.






3. Install the ACC unit in the reverse order of removal.

NOTE: If a new ACC unit, follow these item:

- Do the ACC unit update Testing and Inspection.
- Do the CMBS initial check (DTC100) 100.