LEMON Manuals: Even more car manuals for everyone: 1960-2025
Home >> Acura >> 2011 >> MDX >> Repair and Diagnosis (Single Page) >> Accessories & Equipment >> Communication Devices >> Multiplex Integrated Control System >> System Description >> Body Controller Area Network (B-CAN) and Fast Controller Area Network (F-CAN)
April 5, 2026: LEMON Manuals is launched! Read the announcement.

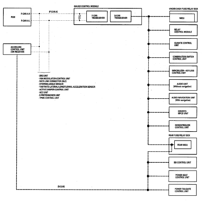
Body Controller Area Network (B-CAN) and Fast Controller Area Network (F-CAN)

The body controller area network (B-CAN) and the fast controller area network (F-CAN) share information between multiple electronic control units (ECUs). B-CAN communication moves at a slower speed (33.33 kbps) for convenience related items and for other functions. F-CAN information moves at a faster speed (500 kbps) for "real time" functions such as fuel and emissions data. To allow both systems to share information, the gauge control module translates and relays the information from B-CAN to F-CAN A and from F-CAN A to B-CAN. This is called the Gateway function.

Fig 1: Body Controller Area Network (B-CAN) And Fast Controller Area Network (F-CAN) Diagram
G08055176Courtesy of AMERICAN HONDA MOTOR CO., INC.