LEMON Manuals: Even more car manuals for everyone: 1960-2025
Home >> Acura >> 2011 >> TL AWD V6-3.7L >> Repair and Diagnosis >> Specifications >> Mechanical Specifications >> Engine >> Cylinder Block Assembly >> Connecting Rod, Engine >> Tightening Torques
April 5, 2026: LEMON Manuals is launched! Read the announcement.

Tightening Torques




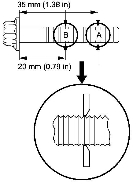
Connecting Rod Cap Bolt Inspection
Measure the diameter of each connecting rod bolt at point A and point B.





Calculate the difference in diameter between point A and point B.





Difference in Diameter





If the difference in diameter is out of tolerance, replace the connecting rod bolt.

Connecting Rod Cap Bolt Tightening Specifications
First pass 20 Nm (2.0 kg-m, 15 lb-ft)
Final pass Tighten 90°

Connecting Rod Bearing-to-Journal Oil Clearance
Standard (New) 0.020-0.044 mm (0.00079-0.00173 in)
Service limit 0.050 mm (0.00197 in)

Connecting Rod Bearing Selection
Each connecting rod falls into one of four tolerance ranges (from 0 to 0.024 mm (0.0009 in), in 0.006 mm (0.0002 in) increments) depending on the size of its big end bore.

It is then stamped with a number or bar (1, 2, 3, or 4/I, II, III, or IIII) indicating the range. You may find any combination of 1, 2, 3, or 4/I, II, III, or IIII in any engine.

Big End Bore Size
J35Z6 Engine 58.0 mm (2.283 in)
J37A4 Engine 60.0 mm (2.362 in)

Big End Bore Code Locations
Numbers or bars have been stamped on the side of each connecting rod as a code for the size of the big end. Use them, and the letters or bars stamped on the crank (codes for rod journal size), to choose the correct bearings. If the codes are indecipherable because of an accumulation of dirt and dust, do not scrub them with a wire brush or scraper. Clean them only with solvent or detergent.









Connecting Rod Journal Code Locations (Letters or Bars)