LEMON Manuals: Even more car manuals for everyone: 1960-2025
Home >> Acura >> 2012 >> MDX V6-3.7L >> Repair and Diagnosis >> Maintenance >> Alignment >> Service and Repair
April 5, 2026: LEMON Manuals is launched! Read the announcement.

Alignment: Service and Repair




Wheel Alignment

NOTE: After adjusting the wheel alignment, do the VSA sensor neutral position memorization Programming and Relearning.

The suspension can be adjusted for front camber, front toe, and rear toe. However, each of these adjustments are related to each other. For example, when you adjust camber, the toe will change. Therefore, you must adjust the front wheel alignment whenever you adjust camber or toe.

Pre-Alignment Checks

For proper inspection and adjustment of the wheel alignment, do these checks:

1. Release the parking brake to avoid an incorrect measurement.

2. Make sure the suspension is not modified.

3. Make sure the fuel tank is full, and that the spare tire, the jack, and the tools are in place on the vehicle.

4. Check the tire size and pressure.










5. Check the runout of the wheels and tires Testing and Inspection.

6. Check the suspension ball joints. (Raise and support the vehicle Service and Repair, then hold a tire with your hands, and move it up and down and right and left to check for movement.)





7. Before doing alignment inspections, be sure to remove all extra weight from the vehicle, and no one should be inside the vehicle (driver or passengers).

8. Lower the vehicle to the ground, and bounce the vehicle up and down several times to settle the suspension.

9. Check that the steering column is set at the center tilt position and the center telescopic position.

Caster Inspection

Use commercially available computerized four wheel alignment equipment to measure wheel alignment (caster, camber, toe, and turning angle). Follow the equipment manufacturer's instructions.

1. Check the caster angle.





- If the measurement is within specifications, measure the camber angle.
- If the measurement is not within specifications, check for bent or damaged suspension components.

Camber Inspection

Use commercially available computerized four wheel alignment equipment to measure wheel alignment (caster, camber, toe, and turning angle). Follow the equipment manufacturer's instructions.

1. Check the camber angle.





- If the measurement is within specification, measure the toe-in.
- If the measurement for the front camber is not within the specification, go to front camber adjustment.
- If the measurement for the rear camber is not within the specification, check for bent or damaged suspension components.

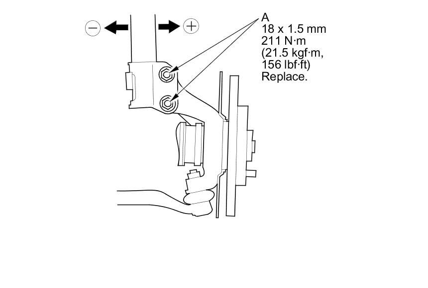
Front Camber Adjustment

The front camber can be adjusted by exchanging one of the damper pinch bolts with an adjusting bolt. The adjusting bolt is over-all shorter in length with a shallow shoulder. The adjusting bolt allows for more movement at damper to camber.

NOTE: If you need to use an adjusting bolt, refer to Parts Catalog for the part number.





1. Raise and support the vehicle Service and Repair.

2. Remove the front wheels.

3. Loosen the damper pinch bolts (A), and adjust the camber angle by moving the bottom of the damper within the range of the damper pinch bolt free play.






4. Tighten the damper pinch bolts while holding the flange nut to the specified torque.

5. Clean the mating surfaces between the brake disc and the inside of the wheel, then install the front wheels.

6. Lower the vehicle to the ground, and bounce the front of the vehicle up and down several times to stabilize the suspension.

7. Measure the camber angle.

- If the measurement is within specifications, measure the toe-in.
- If the measurement is not within specifications, go to step 8.

8. Raise and support the vehicle Service and Repair.

9. Remove the front wheels.

10. Replace the damper pinch bolt (A) with the adjusting bolt (B), and adjust the camber angle.

NOTE:

- For positive camber adjustment replace the damper pinch bolt of the upper side with the adjusting bolt. Pull out damper to create a positive gain in camber angle.
- For negative camber adjustment replace the damper pinch bolt of the lower side with the adjusting bolt. Push in damper to create a negative gain in camber angle.










11. Tighten the damper pinch bolt and the adjusting bolt while holding the flange nut to the specified torque.

12. Clean the mating surfaces between the brake disc and the inside of the wheel, then install the front wheels.

13. Lower the vehicle to the ground, and bounce the front of the vehicle up and down several times to stabilize the suspension.

14. Measure the camber angle. If the camber angle is not within specification, repeat step 8 through 13 to readjust the camber angle. If the camber measurement is correct, measure the toe-in, and adjust it if necessary.

Rear Toe Inspection/Adjustment

Use commercially available computerized four wheel alignment equipment to measure wheel alignment (caster, camber, toe, and turning angle). Follow the equipment manufacturer's instructions.

1. Release the parking brake to avoid an incorrect measurement.

2. Check the toe.





- If adjustment is required, go to step 3.
- If no adjustment is required, go to front toe inspection/adjustment.

3. Hold the adjusting bolt (A) on the lower arm B, and remove the self-locking nut (C).





4. Replace the self-locking nut with a new one, and lightly tighten it.

NOTE:

- Always use a new self-locking nut whenever it has been loosened.
- Reassemble the adjusting bolt and adjusting cam plate with the eccentric facing up.

5. Adjust the rear toe by turning the adjusting bolt until the toe is correct.

6. Tighten the self-locking nut to the specified torque while holding the adjusting bolt.

Front Toe Inspection/Adjustment

Use commercially available computerized four wheel alignment equipment to measure wheel alignment (caster, camber, toe, and turning angle). Follow the equipment manufacturer's instructions.

1. Set the steering column to the middle tilt position and telescopic positions. Center the steering wheel spokes, and install a steering wheel holder tool.

2. Check the toe with the wheels pointed straight ahead.





- If adjustment is required, go to step 3.
- If no adjustment is required, remove the alignment equipment.

3. Loosen the tie-rod locknuts (A) while holding the flat surface sections (B) of the tie-rod end with a wrench, and turn both tie-rods (C) until the front toe is within specifications.





4. After adjusting, tighten the tie-rod end locknuts to the specified torque. Reposition the rack-end boot if it is twisted or displaced.

Turning Angle Inspection

Use commercially available computerized four wheel alignment equipment to measure wheel alignment (caster, camber, toe, and turning angle). Follow the equipment manufacturer's instructions.

1. Turn the wheel right and left while applying the brake, and measure the turning angle of both wheels.









2. If the measurement is not within the specifications, even up both sides of the tie-rod threaded section length while adjusting the front toe. If it is correct, but the turning angle is not within the specifications, check for bent or damaged suspension components.