LEMON Manuals: Even more car manuals for everyone: 1960-2025
Home >> Acura >> 2012 >> RL >> Repair and Diagnosis >> Steering >> Power Steering >> Power Steering System >> Steering Lock Replacement
April 5, 2026: LEMON Manuals is launched! Read the announcement.

Steering Lock Replacement

  1. Remove the steering column (see STEERING COLUMN REMOVAL AND INSTALLATION  ).
  2. Center-punch both of the shear bolts, and drill their heads off with a 5.0 mm (0.197 in) drill bit. Be careful not to damage the steering lock and steering column when removing the shear bolts.
    Fig 1: Drilling Shear Bolts
    G07363045Courtesy of AMERICAN HONDA MOTOR CO., INC.
  3. Remove the shear bolts from the steering lock.
  4. Remove the immobilizer control unit-receiver from the steering lock, then install it to a new steering lock (see IMMOBILIZER CONTROL UNIT-RECEIVER REPLACEMENT ).
  5. Install the steering lock without the key inserted.
  6. Loosely tighten new shear bolts.
  7. Insert the ignition key, and check for proper operation of the steering wheel lock and that the ignition key turns freely.
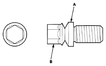
  8. Tighten the shear bolts (A) until the hex heads (B) twist off.
    Fig 2: Identifying Shear Bolts Tightening Position
    G07363046Courtesy of AMERICAN HONDA MOTOR CO., INC.
  9. Install the steering column (see STEERING COLUMN REMOVAL AND INSTALLATION  ).
  10. Rewrite all new keys to the immobilizer control unit-receiver with the HDS, and make sure the immobilizer system works properly (see REMOTE REGISTRATION AND REPROGRAMMING FOR KEYLESS ACCESS SYSTEM AND IMMOBILIZER SYSTEM ).