With HDS
- Press the lock or unlock button at least 10 times to reset the remote.
- If the locks work, the remote is OK.
- If any of the remote buttons do not work, replace the remote, then register the remote (see WHEN REPLACING THE REMOTE SLOT CONTROL UNIT/KEYLESS ACCESS CONTROL UNIT/ECM/PCM/DRIVER'S MICU OR REGISTRATION OF THE REMOTE(S) ).
- If the locks do not work, go to step 2.
- Connect the HDS to the data link connector (DLC).
- Select KEYLESS TRANSMITTER from the BODY ELECTRICAL SYSTEM SELECT menu, then select INSPECTION, then KEYLESS CHECK.
- Press the lock, unlock, or panic button and check the response on the screen of the HDS.NOTE: The door lock actuators may or may not cycle when receiving input from the remote.
- If KEYLESS ENTRY TRANSMITTER CODE IS RECEIVED is indicated, the remote is OK.
- If DIFFERENT KEYLESS ENTRY TRANSMITTER CODE IS RECEIVED is indicated, the remote is not registered to the vehicle. If necessary, register the remote (see WHEN REPLACING THE REMOTE SLOT CONTROL UNIT/KEYLESS ACCESS CONTROL UNIT/ECM/PCM/DRIVER'S MICU OR REGISTRATION OF THE REMOTE(S) ).
- If KEYLESS ENTRY TRANSMITTER CODE IS NOT RECEIVED is indicated, go to step 5.
- Open the remote, and check for water damage.
- If you find any water damage, replace the remote, then register it (see WHEN REPLACING THE REMOTE SLOT CONTROL UNIT/KEYLESS ACCESS CONTROL UNIT/ECM/PCM/DRIVER'S MICU OR REGISTRATION OF THE REMOTE(S) ).
- If there is no water damage, go to step 6.
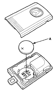
- Replace the remote battery (A) with a new one (CR2032), and press the lock or unlock button and check the response on the screen of the HDS.
- If KEYLESS ENTRY TRANSMITTER CODE IS RECEIVED is indicated, the remote is OK.
- If KEYLESS ENTRY TRANSMITTER CODE IS NOT RECEIVED is indicated, go to step 7.
- Use a different known- good remote assembly and repeat steps 3 and 4.NOTE: The remote does not need to be programmed to the vehicle for this test.
- If (DIFFERENT) KEYLESS ENTRY TRANSMITTER CODE IS RECEIVED is indicated, replace the remote and do the keyless access system registration (see KEYLESS ACCESS SYSTEM REGISTRATION ).
- If KEYLESS ENTRY TRANSMITTER CODE IS NOT RECEIVED is indicated, the keyless access control unit is faulty, replace it and do the keyless access system registration (see KEYLESS ACCESS SYSTEM REGISTRATION ).
NOTE: The remote is combined with the immobilizer transponder, so when the transponder is registered by the HDS, the remote programming is completed automatically.