LEMON Manuals: Even more car manuals for everyone: 1960-2025
Home >> Acura >> 2012 >> TL Base >> Repair and Diagnosis >> Body & Frame >> Windows >> Power Windows >> Rear Power Window Switch Replacement
April 5, 2026: LEMON Manuals is launched! Read the announcement.

Rear Power Window Switch Replacement

  1. Remove the rear door armrest (see REAR DOOR PANEL REMOVAL/INSTALLATION ).
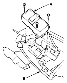
  2. Remove the three screws and rear power window switch (A) from the armrest assembly (B).
    Fig 1: Identifying Rear Power Window Switch And Armrest Assembly
    G08071486Courtesy of AMERICAN HONDA MOTOR CO., INC.
  3. Install the switch in the reverse order of removal.