LEMON Manuals: Even more car manuals for everyone: 1960-2025
Home >> Acura >> 2021 >> ILX >> Repair and Diagnosis (Single Page) >> Engine Performance >> Engine Control Systems >> Engine Control System / Engine Mechanical - Service, Testing And Troubleshooting (Except Hybrid) >> System Description >> VTEC/VTC System Description - VTC (2016 2017 2018 2019 2020 2021 2022)
April 5, 2026: LEMON Manuals is launched! Read the announcement.

VTEC/VTC System Description - VTC (2016 2017 2018 2019 2020 2021 2022)

Overview 

The VTC system makes continuous intake valve timing changes based on operating conditions.Intake valve timing is optimized to allow the engine to produce maximum power.Cam angle is advanced to obtain the EGR effect and reduce pumping loss. The intake valve is closed quickly to reduce the entry of the air/fuel mixture into the intake port and improve the charging effect. The system reduces the cam advance at idle, stabilizes combustion, and reduces engine speed.If a malfunction occurs on the VTEC system, the VTC system control is disabled and the valve timing is fixed at the fully retarded position.

GHH468856Courtesy of HONDA, U.S.A., INC.

Construction 

VTC Actuator 

The VTC actuator is composed of the vane, the lock pin, the spring, and the housing with the timing gear. It is installed at the end of the intake camshaft.When the VTC actuator vanes rotate the to advance or retard position, the intake camshaft timing is changed.

GHH468857Courtesy of HONDA, U.S.A., INC.

When the engine stops, the vane is locked in the full retard position by the lock pin so that the engine will start smoothly. After the engine starts, the vane turns freely because the lock pin is pushed back against the spring tension by oil pressure.

GHH468858Courtesy of HONDA, U.S.A., INC.

VTC Oil Control Solenoid Valve 

The VTC oil control solenoid valve controls oil pressure to the advance chamber/retard chamber of the VTC actuator according to a signal from the PCM.CMP sensor A detects the intake camshaft angle and sends the information to the PCM. The PCM controls the VTC oil control solenoid valve as the intake camshaft angle changes.

GHH468859Courtesy of HONDA, U.S.A., INC.

CMP Sensor A 

CMP sensor A detects intake camshaft angle position for the VTC system.

GHH468860Courtesy of HONDA, U.S.A., INC.

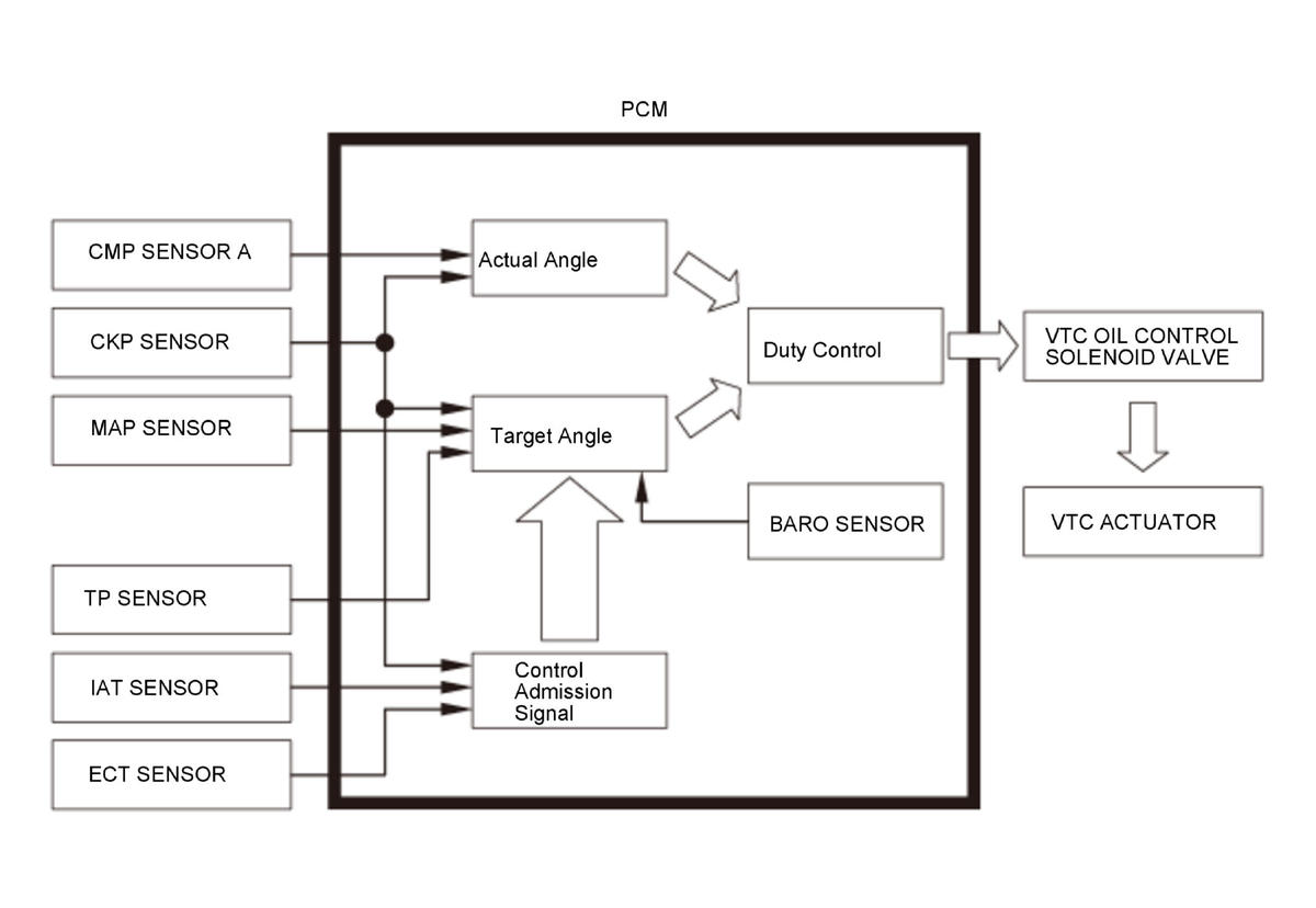
Control 

The VTC system diagram is as follows.The PCM advances or retards the valve timing based on the data from various sensors and performs feedback-control to the VTC oil control solenoid valve.

GHH468861Courtesy of HONDA, U.S.A., INC.

Operation 

Advance Rotation Operation 

When the advance chamber is charged with pressured oil from the VTC oil control solenoid valve, the intake camshaft rotates to the advanced side.

GHH468862Courtesy of HONDA, U.S.A., INC.

Retard Rotation Operation 

When the retard chamber is charged with pressured oil from the VTC oil control solenoid valve, the intake camshaft rotates to the retarded side.

GHH468863Courtesy of HONDA, U.S.A., INC.