LEMON Manuals: Even more car manuals for everyone: 1960-2025
Home >> Acura >> 2021 >> RDX Base >> Repair and Diagnosis (Single Page) >> Body & Frame >> Door Locks >> Security System / Keyless Entry System - Testing & Troubleshooting >> Troubleshooting >> Keyless Access System Symptom Troubleshooting - Cannot Select ON Mode With Keyless Access And With The Keyless Remote Touching The Engine Start/Stop Switch >> Inspection Area
April 5, 2026: LEMON Manuals is launched! Read the announcement.

Inspection Area

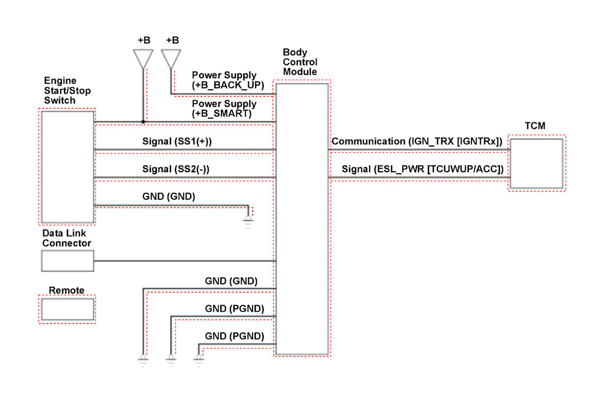
Without electric steering lock 

GHH336564Courtesy of HONDA, U.S.A., INC.

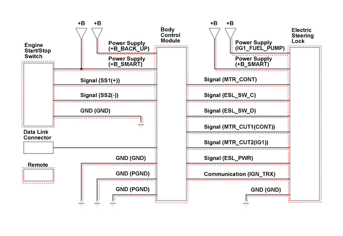
With electric steering lock 

GHH336565Courtesy of HONDA, U.S.A., INC.