LEMON Manuals: Even more car manuals for everyone: 1960-2025
Home >> Acura >> 2021 >> RDX Base >> Repair and Diagnosis (Single Page) >> Quick Lookups >> Electrical Component Locations >> Electrical Component Locator And Service Information - Transfer/Rear Differential Area Components >> Exploded View >> Transfer/Rear Differential Area >> Repair Procedure >> Procedure
April 5, 2026: LEMON Manuals is launched! Read the announcement.

Repair Procedure: Procedure

  1. A.

    ■ Sub-Procedure 

    • Installation 

    Installation Direction 

    Mark Direction
    a Upper Side

    Tube Details 

    Position Specifications
    b 42 deg.
    GHH340293Courtesy of HONDA, U.S.A., INC.
  2. B.

    ■ Sub-Procedure 

    GHH340294Courtesy of HONDA, U.S.A., INC.

    • Installation 

    Installation Direction 

    Mark Direction
    a Upper Side
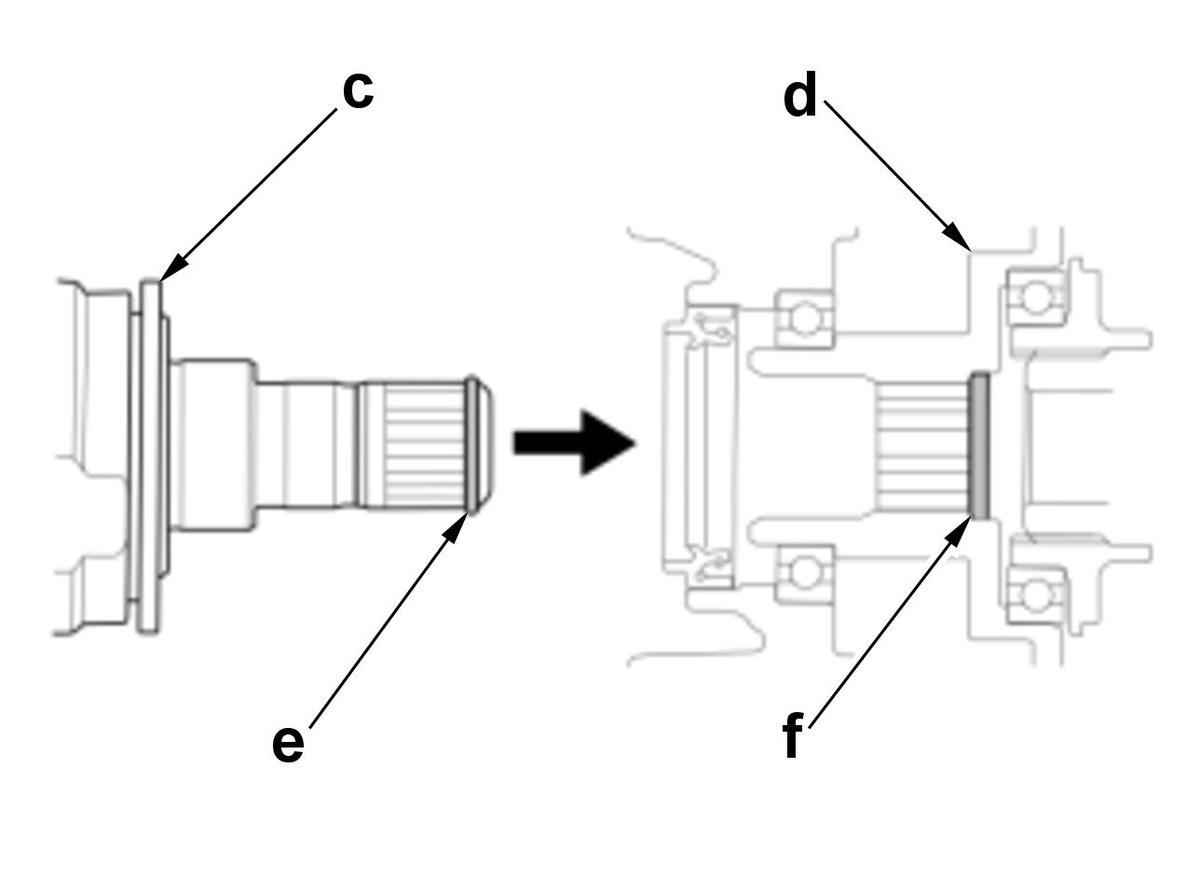
  3. C.

    ■ Preconditions 

    ■ Sub-Procedure 

    • Installation 

    Lubricant Specifications 

    Application Position Type
    O-Ring Rear Differential Fluid

    ■ After Installation 

  4. D.

    ■ Sub-Procedure 

    NOTE: Keep sand, dust and debris from entering the rear differential assembly.

    • Installation 

    Lubricant Specifications 

    Application Position Type
    O-Ring Rear Differential Fluid
  5. E.

    ■ Preconditions 

    ■ After Installation 

  6. F.

    ■ Preconditions 

    ■ Sub-Procedure 

    GHH340295Courtesy of HONDA, U.S.A., INC.

    • Installation 

    Alignment Specifications 

    Positions Name
    a Oil Pump Shaft (Groove)
    b Pump Motor Shaft (Bulge)

    Lubricant Specifications 

    Application Position Type
    O-Ring Rear Differential Fluid

    ■ After Installation 

  7. G.

    ■ Sub-Procedure 

    GHH340296Courtesy of HONDA, U.S.A., INC.

    • Removal/Installation 

    Marking Details 

    Specifications
    a: YELLOW Paint
    b: WHITE Paint

    Installation Width 

    Specifications
    c: 2.0 mm (0.079 in) max.
  8. H.

    ■ Sub-Procedure 

    Figure 1 

    GHH340297Courtesy of HONDA, U.S.A., INC.

    • Removal/Installation 

    Marking Details (Figure 1) 

    Specifications
    a: YELLOW Paint
    b: WHITE Paint

    Figure 2 

    GHH340298Courtesy of HONDA, U.S.A., INC.

    Marking Details (Figure 2) 

    Specifications
    a: YELLOW Paint
  9. I.

    ■ Sub-Procedure 

    • Installation 

    • Remove the metal particles from the magnetic surface of the drain plug.
  10. J.

    ■ Preconditions 

    ■ Key Information 

    Do the following before starting your work.

    Remove: 

    ■ Sub-Procedure 

    • Removal 

    1. Turn the propeller shaft so that the yellow mark (a) is facing down. (Figure 1)

    Figure 1 

    GHH340299Courtesy of HONDA, U.S.A., INC.

    2. Make reference marks (b) across the No. 1 propeller shaft (c) and the companion flange shaft (d), and across the No. 2 propeller shaft (e) and the rear differential companion flange (f). (Figure 1)

    • Installation 

    NOTE:
    • Align the reference marks (b). (Figure 1)
    • When replacing the following parts, make sure the factory reference yellow marks (g and h) are aligned. (Figure 2)
      • Propeller Shaft
      • Rear Differential Assembly
      • Sub Carrier Assembly

    Figure 2 

    GHH340300Courtesy of HONDA, U.S.A., INC.

    1. Temporarily install all the bolts.

    Installation Width (Figure 3) 

    Specifications
    i: No Clearance

    Figure 3 

    GHH340301Courtesy of HONDA, U.S.A., INC.

    2. Tighten the bolts to specifications in the sequence shown.

    Tightening Procedure (Figure 3) 

    Procedure Items
    1 Tighten Bolts (k, m)
    2 Tighten Bolts (n)

    ■ After Installation 

  11. K.

    ■ Preconditions 

    ■ Key Information 

    Do the following before starting your work.

    Remove: 

    ■ Sub-Procedure 

    NOTE:
    • To support the rear differential assembly, use a jack or other means of support.

    Figure 1 

    GHH340302Courtesy of HONDA, U.S.A., INC.

    • Removal 

    • Disconnect the inboard joints while lowering the rear differential assembly. (Figure 1)
    NOTE:
    • Be careful not to damage the oil seal or the end of the inboard joint with the pry bar.
    • Do not pull on the driveshaft, or the inboard joint may come apart. Pull the inboard joint straight out to avoid damaging the oil seals.

    Figure 2 

    GHH340303Courtesy of HONDA, U.S.A., INC.

    • Installation 

    1. Raise the rear differential assembly (a) to the inboard joints (b) installation position. (Figure 2)

    Figure 3 

    GHH340304Courtesy of HONDA, U.S.A., INC.

    2. Install the inboard ends (c) into the rear differential assembly (d) until the set rings (e) lock in the grooves (f). (Figure 3)

    Figure 4 

    GHH340305Courtesy of HONDA, U.S.A., INC.

    3. Install the bolts in the sequence show below.

    Tightening Procedure (Figure 4) 

    Procedure Items
    1 Loosely Install All Bolts (g, h, i)
    2 Tighten To Specifications Bolts (g, h)
    3 Tighten To Specifications Bolts (i)

    ■ After Installation 

  12. L.

    ■ Sub-Procedure 

    NOTE:
    • To support the rear differential assembly, use a jack or other means of support.
    GHH340306Courtesy of HONDA, U.S.A., INC.

    • Installation 

    Tightening Procedure 

    Procedure Items
    1 Loosely Install All Bolts (a, b)
    Procedure Items
    2 Tighten To Specifications Bolts (a)
    3 Tighten To Specifications Bolts (b)
  13. M.

    ■ Preconditions 

    ■ Key Information 

    Do the following before starting your work.

    Remove: 

    ■ Sub-Procedure 

    Figure 1 

    GHH340307Courtesy of HONDA, U.S.A., INC.

    • Removal 

    • Pry up the stake (a). (Figure 1)

    Figure 2 

    GHH340308Courtesy of HONDA, U.S.A., INC.
    • Disconnect the outboard joint. (Figure 2)

    Figure 3 

    GHH340309Courtesy of HONDA, U.S.A., INC.

    • Installation 

    NOTE:
    • Insert the inboard joints horizontally to prevent damaging the oil seals.
    • Clean the areas where the driveshaft contacts the rear differential assembly thoroughly with solvent, then dry them with compressed air. Do not wash the rubber parts with solvent.

    1. Raise the rear differential assembly (b) to the inboard joints (c) installation position. (Figure 3)

    Figure 4 

    GHH340310Courtesy of HONDA, U.S.A., INC.

    2. Install the inboard ends (d) into the rear differential assembly (e) until the set rings (f) locks in the grooves (g). (Figure 4)

    Figure 5 

    GHH340311Courtesy of HONDA, U.S.A., INC.

    3. Apply a small amount of engine oil to the nut as shown. (Figure 5)

    Lubricant Specifications (Figure 5) 

    Application Position Type
    h: Surface and Threads Engine Oil

    Stake Depth (Figure 5) 

    Specifications
    i: 1.0 mm (0.039 in) min.

    Figure 6 

    GHH340312Courtesy of HONDA, U.S.A., INC.

    4. Install the bolts in the sequence show below.

    Tightening Procedure (Figure 6) 

    Procedure Items
    1 Loosely Install All Bolts (k, m, n)
    2 Tighten To Specifications Bolts (k, m)
    3 Tighten To Specifications Bolts (n)

    ■ After Installation 

  14. N.

    ■ Preconditions 

    ■ Key Information 

    NOTE: For the removal and installation procedure, refer to Transfer Assembly Removal and Installation .

    ■ After Installation