LEMON Manuals: Even more car manuals for everyone: 1960-2025
Home >> Acura >> 2021 >> RDX Base >> Repair and Diagnosis (Single Page) >> Steering >> Power Steering >> Steering System - Service, Testing And Troubleshooting >> Construction and Function >> EPS System Description - System Diagram
April 5, 2026: LEMON Manuals is launched! Read the announcement.

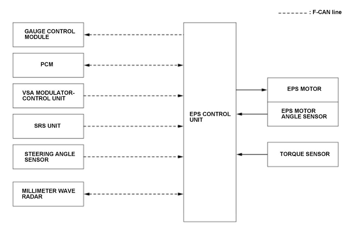
EPS System Description - System Diagram

For locations of each component on the vehicle, refer to Component Location Index:

GHH336994Courtesy of HONDA, U.S.A., INC.

F-CAN Communication Data 

EPS System Receiving Signal 

Transmitting Unit Signal Name
PCM
  • Engine speed signal
  • Vehicle speed signal
  • Auto idle stop status
  • Cruise control status
  • Integrated dynamics system mode signal
  • Service check signal
VSA modulator-control unit
  • Wheel speed signal
  • ABS/EBD/TCS/VSA operating status
  • Vehicle understeering status
  • Estimated longitudinal acceleration signal
  • Estimated L/R ' differential signal
  • System failure information
SRS unit
  • Yaw rate signal
  • Lateral acceleration signal
  • System failure information
Steering angle sensor
  • Steering angle signal
Millimeter wave radar
  • LKAS mode signal
  • Instructing current signal
  • System failure information

EPS System Transmitting Signal 

Transmitting Unit Signal Name
EPS control unit
  • Indicator drive signal
  • Motor load status
  • Auto idle stop release request
  • Auto idle stop inhibit signal
  • Steering torque signal
  • Motor speed signal
  • System failure information