LEMON Manuals: Even more car manuals for everyone: 1960-2025
Home >> Acura >> 2021 >> TLX Base >> Repair and Diagnosis >> Electrical >> Component Locations >> Electrical Component Locator And Service Information - Windshield Area Components >> Exploded View >> Windshield Area >> Repair Procedure
April 5, 2026: LEMON Manuals is launched! Read the announcement.

Repair Procedure

How to use this manual .

GHH563586Courtesy of HONDA, U.S.A., INC.
: Torque, N.m (lbf.ft) : Replace : Warning/Caution : Inspection/Adjustment *: Learning : ■SPL Tool : Required Removal
*1: With automatic wiper

*2: Part(s) are shown for one side only as the procedure is the same for both sides.

GHH563587Courtesy of HONDA, U.S.A., INC.
: Torque, N.m (lbf.ft) : Replace : Warning/Caution : Inspection/Adjustment *: Learning : ■SPL Tool : Required Removal
  1. A.-

    NOTE:  Do not bend the headliner. Bending the headliner will crease and damage it.

    Key Information 

    Do the following before starting your work.

    Remove: 

    Sub-Procedure 

    Removal 

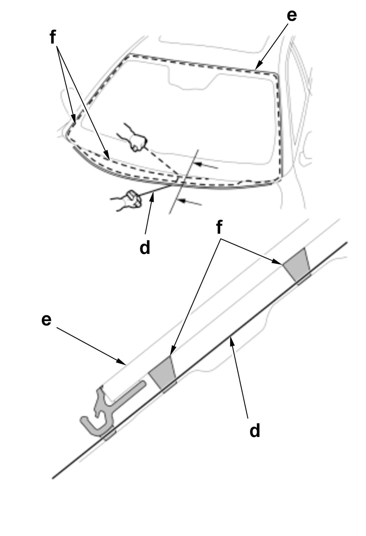
    1. Remove the windshield molding (a) from the edge of the windshield (b). If necessary, cut off the molding with a utility knife. (Figure 1)

    Figure 1 

    GHH563588Courtesy of HONDA, U.S.A., INC.

    2. If the original windshield will be reinstalled, make alignment marks (c) across the windshield and the body with a grease pencil. (Figure 2)

    Figure 2 

    GHH563589Courtesy of HONDA, U.S.A., INC.

    3. Apply protective tape along the edge of the dashboard and the body. Make a hole with an awl or similar tool, through the rubber dam and the adhesive from inside the vehicle at a corner of the windshield. Push a piece of piano wire (d) through the hole, and wrap each end around a piece of wood. (Figure 3 and 4)

    Figure 3 

    GHH563590Courtesy of HONDA, U.S.A., INC.

    Figure 4 (Cutting positions) 

    GHH563591Courtesy of HONDA, U.S.A., INC.

    4. With a helper on the outside, pull the piano wire back and forth in a sawing motion. Hold the piano wire as close to the windshield (e) as possible to prevent damage to the body and the dashboard. Carefully cut through the rubber dam and the adhesive (f) around the entire windshield. (Figure 3 and 4)

    5. Carefully remove the windshield.

    6. Scrape the original adhesive smooth to a thickness of about 1 mm (0.04 in) - 2 mm (0.08 in) on the bonding surface around the entire windshield opening flange with a putty knife.

    NOTE:
    • Do not scrape down to the painted surface of the body; damaged paint will interfere with proper bonding.
    • Remove the rubber dam from the body.

    Installation 

    1. Clean the body bonding surface with a shop towel dampened with isopropyl alcohol. After cleaning, do not allow oil, grease, and water to contact on the clean surface.

    2. If you are reinstalling the original windshield, scrape off all of the original adhesive, the clips, the rubber dam, and the dashboard seal from the windshield with a putty knife. Clean the bonding surfaces on the inside face and the edge of the windshield with isopropyl alcohol. Make sure the bonding surface is kept free of water, oil, and grease.

    3. Install the new windshield molding (f) and lower molding (g) with adhesive tape on the windshield (h) as shown. (Figure 5)

    NOTE:
    • Before installing the windshield molding, apply glass primer (k) to the area where the adhesive tape will be applied.
    • Be careful not to touch the windshield where the adhesive will be applied. (Figure 5)
    • Install the windshield lower molding to the windshield, using the alignment marks (i) on the windshield as the guides. (Figure 5)

    Adhesive Specifications (Figure 5) 

    Position Standard Value
    m 7 mm (0.28 in)
    n 6.5 mm (0.256 in)
    o 6 mm (0.24 in)

    Fitting Specifications (Figure 5) 

    Standard Value
    p 1 2 mm (0.04 0.08 in)

    Figure 5 

    GHH563592Courtesy of HONDA, U.S.A., INC.

    4. If you are installing the new windshield (q), make sure the position between the windshield and the R end (r) of the roof panel. (Figure 6)

    Fitting Specification (Figure 5) 

    Standard Value
    s 3 +1/-0.5 mm (0.11 +0.04/-0.020 in)
    t 3.1 1 mm (0.122 0.04 in)

    Figure 6 

    GHH563593Courtesy of HONDA, U.S.A., INC.

    5. Set the windshield (u) in the opening, and center it. Make the alignment marks (v) across the windshield and the body with a grease pencil at the four points shown. (Figure 7)

    NOTE:  Be careful not to touch the windshield where the adhesive will be applied.

    Figure 7 

    GHH563594Courtesy of HONDA, U.S.A., INC.

    6. Remove the windshield.

    7. Apply a light coat of primer (w) to the windshield (x) along the edge of the windshield molding (y) and windshield lower molding (z) as shown, then lightly wipe it off with gauze or cheesecloth. (Figure 8)

    NOTE:
    • Apply the primer to corner areas of the windshield using the printed dots (aa) on the windshield as a guide. (Figure 8)
    • Apply primer to the molding.
    • Do not apply body primer to the windshield, and do not mix up the body and glass primer applicators.
    • Never touch the primed surfaces with your hands. If you do, the adhesive may not bond to the windshield properly, causing a leak after the windshield is installed.
    • Keep water, dust, and abrasive materials away from primed surfaces.

    Specifications (Figure 8) 

    Standard Value
    ab 5.5 mm (0.217 in)
    ac 7 mm (0.28 in)
    ad 6.5 mm (0.256 in)
    ae 11 mm (0.43 in)

    Figure 8 

    GHH563595Courtesy of HONDA, U.S.A., INC.

    8. Carefully apply a light coat of body primer to any exposed paint or metal around the flange where new adhesive will be applied. Let the primer dry for at least 10 minutes.

    NOTE:
    • Do not apply the glass primer to the body.
    • Do not apply body primer to any remaining original adhesive on the flange.
    • Cover on the dashboard before applying the body primer.
    • Be careful not to mix up the body and glass primer applicators.
    • Never touch the primed surfaces with your hands.

    9. Cut a "V" in the end of the nozzle (af) on the adhesive cartridge as shown. (Figure 9)

    Specifications (Figure 8) 

    Standard Value
    ag 12 mm (0.47 in)
    Standard Value
    ah 7 mm (0.28 in)

    Figure 9 

    GHH563596Courtesy of HONDA, U.S.A., INC.

    10. Put the cartridge in a caulking gun, and run a continuous bead of adhesive (ai) on the windshield (ak) along the edge of the windshield moldings (am) as shown. (Figure 10)

    NOTE:
    • Apply the adhesive within 30 minutes after applying the glass primer.
    • Apply the adhesive to the using the printed dots (an) on the windshield as a guide. (Figure 10)
    • Make a slightly thicker bead at each corner.

    Adhesive Specifications (Figure 9) 

    Position Specifications
    ao 12 mm (0.47 in)
    ap 7 mm (0.28 in)
    aq 2 mm (0.08 in)
    ar 7 mm (0.28 in)
    as 6.5 mm (0.256 in)
    at 11.8 mm (0.465 in)

    Figure 10 

    GHH563597Courtesy of HONDA, U.S.A., INC.

    11. Hold the windshield with suction cups over the opening, align it with the alignment marks made, and set it down on the adhesive. Lightly push on the windshield until its edges are fully seated on the adhesive all the way around. Carefully remove the suction cups.

    NOTE:

    Do not open or close any of the doors for about an hour until the adhesive is dry.

    12. Remove the excess adhesive with a putty knife or a shop towel dampened with isopropyl alcohol.

    13. Wait at least an hour for the adhesive to dry, then spray water over the windshield and check for leaks. Mark the leaking areas, let the windshield dry, then seal with sealant: Let the vehicle stand for at least 4 hours after windshield installation. If the vehicle has to be used within the first 4 hours, it must be driven slowly.

    14. Advise the client not to do the following things for 2 to 3 days:

    • Slam the doors with all the windows rolled up.
    • Twist the body excessively (such as when going in and out of driveways at an angle or driving over rough, uneven roads).
  2. B.-

    Sub-Procedure 

    Removal 

    Figure 1 

    1. Refer to the figure 1.

    GHH563598Courtesy of HONDA, U.S.A., INC.

    Figure 2 

    Tool Details (Figure 2) 

    2. Refer to the figure 2.

    Name
    a Trim tool (Commercially available tool)
    GHH563599Courtesy of HONDA, U.S.A., INC.
  3. C.-

    Sub-Procedure 

    Figure 1 

    Removal 

    • Refer to the figure 1.
    GHH563600Courtesy of HONDA, U.S.A., INC.

    Figure 2 

    Installation 

    • Refer to the figure 2.
    GHH563601Courtesy of HONDA, U.S.A., INC.

    NOTE:  Replace the mount spring whenever the rearview mirror is removed from the windshield.

  4. D.-

    Sub-Procedure 

    Removal 

    • Refer to the figure.
    GHH563602Courtesy of HONDA, U.S.A., INC.

    After Installation 

  5. E.-

    Preconditions 

    Sub-Procedure 

    Removal 

    • Refer to the figure.
    NOTE:
    • Be careful not to damage the windshield with the tip of the pick tool while working.
    • Hold the connector portion, and carefully remove the automatic lighting/rain sensor and silicon sheet together from the glass surface.
    GHH563603Courtesy of HONDA, U.S.A., INC.

    Installation 

    NOTE:
    • If the automatic lighting/rain sensor connector is connected after the 12 volt battery terminal is connected, the automatic lighting/rain sensor is not confirmed by the body control module.
    • Never touch the primed surface on the automatic lighting/rain sensor with your hands.
    • Do not put on the silicon sheet out of the automatic lighting/rain sensor.
    • Be careful not to touch the silicon sheet surfaces, make sure it is clean. Keep it away from dust.
    • Avoid bubbles from developing under the sheet during installation.

    After Installation