LEMON Manuals: Even more car manuals for everyone: 1960-2025
Home >> Acura >> 2021 >> TLX Base >> Repair and Diagnosis >> Electrical >> Component Locations >> Steering Gearbox Components - Service Information >> Exploded View >> Steering Gearbox Components >> Repair Procedure
April 5, 2026: LEMON Manuals is launched! Read the announcement.

Repair Procedure

How to use this manual .

GHH562782Courtesy of HONDA, U.S.A., INC.
: Torque, N.m (lbf.ft) : Replace : Warning/Caution : Inspection/Adjustment *: Learning : SPL Tool : Required Removal
*1: Part(s) are shown for one side only as the procedure is the same for both sides.
  1. A.-

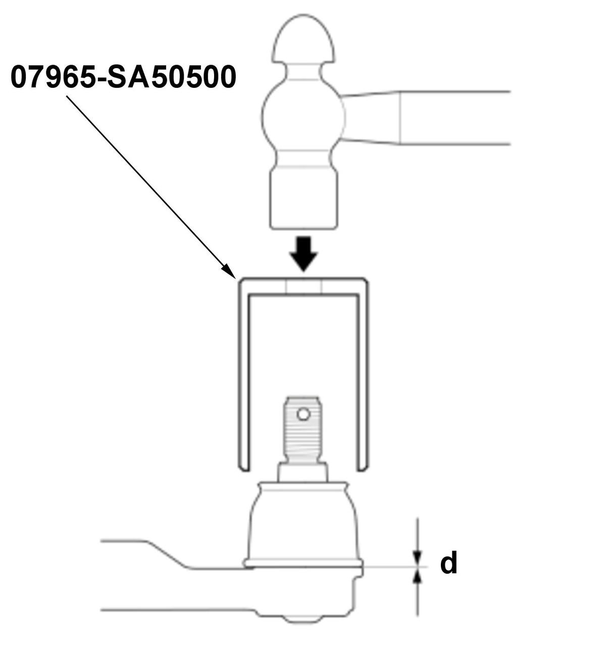
    NOTE:  The tie-rod end ball joint boot can be replaced without removing the steering gearbox.

    Key Information 

    Do the following before starting your work.

    Remove: 

    Disconnect: 

    Sub-Procedure 

    Removal 

    NOTE:

    When replacing the tie-rod end ball joint boot, remove the tie-rod end.

    Figure 1 

    GHH562783Courtesy of HONDA, U.S.A., INC.

    Installation 

    NOTE:

    Do not allow dust, dirt, or other foreign materials to enter the boot.

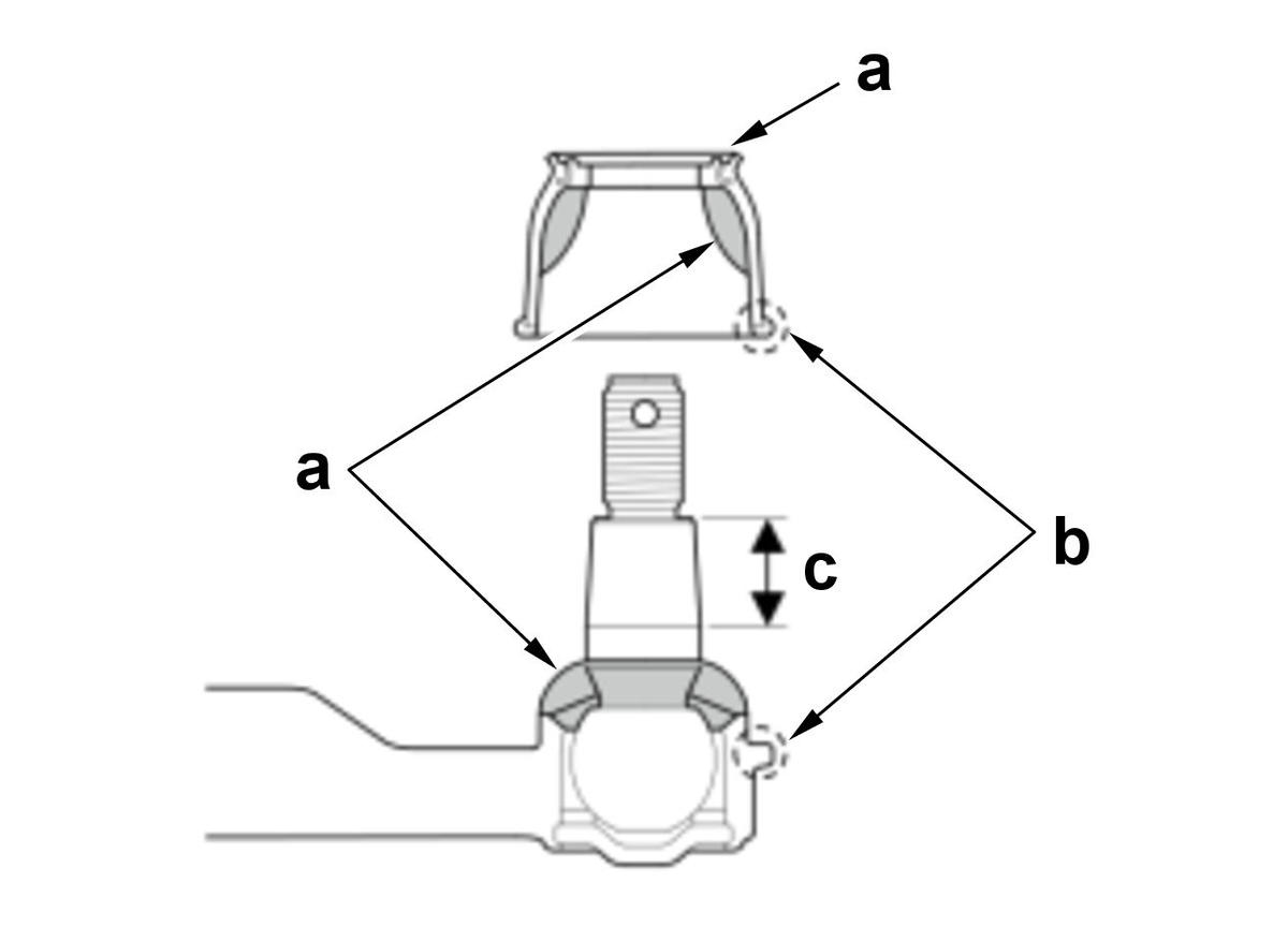
    1. Pack the lower area of the ball pin, the interior of the ball joint boot, and the lip with fresh multipurpose grease.

    Lubricant Specifications (Figure 1) 

    Position Type
    a Service Set Grease

    2. Keep grease off the boot mounting area (b) and the tapered section of the ball pin (c). (Figure 1)

    Figure 2 

    GHH562784Courtesy of HONDA, U.S.A., INC.

    3. Press the boot with the bearing driver attachment until the bottom seats on the ball joint housing. (Figure 2)

    Specifications (Figure 2) 

    Specification
    d No Clearance

    After Installation 

    1. Check these items:

    • The ball pin tapered section for grease contamination.
    • Wipe the ball pin tapered section if necessary.

    2. Wheel Alignment Check

    3. VSA Sensor Neutral Position Memorization - Refer to: VSA Sensor Neutral Position Memorization

  2. B.-

    Sub-Procedure 

    Removal/Installation 

    NOTE:

    Do not allow dust, dirt, or other foreign materials to enter the steering gearbox.

    ? Installation 

    • Fit the boot end in the installation grooves in the housing properly.

    After Installation 

    • Slide the rack right and left to be certain that the boots are not deformed or twisted.
  3. C.-

    Sub-Procedure 

    GHH562785Courtesy of HONDA, U.S.A., INC.

    Installation 

    Tool Details 

    Name
    a Pincers 1098 (Oetiker) (Commercially Available) or Equivalent Tool

    Specifications 

    Specification
    b 2.0 mm (0.079 in)

    After Installation 

    • Slide the rack right and left to be certain that the boots are not deformed or twisted.
  4. D.-

    Sub-Procedure 

    NOTE:
    • Do not allow dust, dirt, or other foreign materials to enter the steering gearbox.
    • Do not clamp the cylinder part of the gearbox housing in a C-clamp.
    • Be careful not to damage the mounting surface with a C-clamp.
    • Be careful not to damage the rack surface.

    Figure 1 

    GHH562786Courtesy of HONDA, U.S.A., INC.

    Removal/Installation 

    • Refer to the figure 1.
      NOTE:

      Hold the right side steering rack flat surfaces with a wrench when unscrewing left side rack end.

    Tool Details (Figure 1) 

    Name
    a C-clamp (Commercially Available) or Equivalent Tool

    Figure 2 

    GHH562787Courtesy of HONDA, U.S.A., INC.

    Installation 

    NOTE:

    Fit the boot end in the installation grooves in the housing properly.

    • Apply the following grease to the contact surface of the boot.

    Lubricant Specifications (Figure 2) 

    Position Type
    b Multipurpose Grease

    After Installation 

    • Wipe the grease off the threaded section of the rack end.