LEMON Manuals: Even more car manuals for everyone: 1960-2025
Home >> Acura >> 2023 >> Integra Base, Standard Trans >> Repair and Diagnosis (Single Page) >> General Information >> OEM General Information >> Electrical Component Locator And Service Information : Center Console Area(M/T) >> Exploded View >> Center Console Area (M/T) >> Repair Procedure
April 5, 2026: LEMON Manuals is launched! Read the announcement.

Repair Procedure

How to use this service information .

Center Console Assembly Removal 

GHH652206Courtesy of HONDA, U.S.A., INC.

: Torque, N.m (lbf.ft)

: Replace

: Warning/Caution

: Inspection/Adjustment

*: Learning

: SPL Tool

: Required Removal

GHH652207Courtesy of HONDA, U.S.A., INC.

: Torque, N.m (lbf.ft)

: Replace

: Warning/Caution

: Inspection/Adjustment

*: Learning

: SPL Tool

: Required Removal

GHH652208Courtesy of HONDA, U.S.A., INC.

: Torque, N.m (lbf.ft)

: Replace

: Warning/Caution

: Inspection/Adjustment

*: Learning

: SPL Tool

: Required Removal

GHH652209Courtesy of HONDA, U.S.A., INC.

: Torque, N.m (lbf.ft)

: Replace

: Warning/Caution

: Inspection/Adjustment

*: Learning

: SPL Tool

: Required Removal

*1: Display audio type (9-inch screen)

*2: Color audio type (7-inch screen)

*3: With wireless charger

GHH652210Courtesy of HONDA, U.S.A., INC.

: Torque, N.m (lbf.ft)

: Replace

: Warning/Caution

: Inspection/Adjustment

*: Learning

: SPL Tool

: Required Removal

  1. A.-
    GHH652211Courtesy of HONDA, U.S.A., INC.
  2. B.-

    Sub-Procedure 

    Figure 1 

    GHH652212Courtesy of HONDA, U.S.A., INC.

    Figure 2 

    GHH652213Courtesy of HONDA, U.S.A., INC.

    ■ Removal 

    • Refer to figure 1 and 2.

    Figure 3 

    GHH652214Courtesy of HONDA, U.S.A., INC.

    ■ Installation 

    1. Install and turn the shift lever boot ring (a) until it reaches the bottom of the threads on the shift lever. (Figure 3)

    Figure 4 

    GHH652215Courtesy of HONDA, U.S.A., INC.

    2. Install and turn the shift lever knob (b) until it contacts the shift lever boot ring. (Figure 4)

    Installation Directions (Figure 4) 

    Position Direction
    c Front
    NOTE:

    Make sure the shift lever knob is installed in the correct direction.

    3. Tighten the shift lever boot ring counterclockwise with the shift pattern on the shift lever knob properly aligned. (Figure 4)

  3. C.-

    Sub-Procedure 

    ■ Removal 

    • Refer to the figure.
    GHH652216Courtesy of HONDA, U.S.A., INC.
  4. D.-
    GHH652217Courtesy of HONDA, U.S.A., INC.
  5. E.-

    Sub-Procedure 

    ■ Removal 

    • Refer to the figure.
    GHH652218Courtesy of HONDA, U.S.A., INC.
  6. F.-
    GHH652219Courtesy of HONDA, U.S.A., INC.
  7. G.-
    GHH652220Courtesy of HONDA, U.S.A., INC.
  8. H.-

    Sub-Procedure 

    NOTICE: 

    • Do not bend the shift cable excessively.

    ■ Removal 

    1. Refer to figure 1.

    Figure 1 

    GHH652221Courtesy of HONDA, U.S.A., INC.

    2. Refer to figure 2.

    Figure 2 

    GHH652222Courtesy of HONDA, U.S.A., INC.

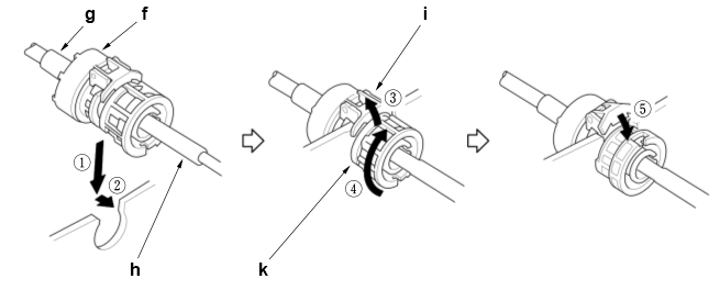
    3. Unlock the retainer lock (a). (Figure 3)

    Figure 3 

    GHH652223Courtesy of HONDA, U.S.A., INC.

    4. Rotate the socket holder retainer (b) counterclockwise until it stops, and push the retainer lock into the socket holder retainer to lock the retainer. (Figure 3)

    5. Slide the socket holder (c) and the change wire (d) out of the shift lever housing. (Figure 3)

    NOTE:

    Do not remove the change wire by pulling the change wire guide (e). (Figure 3)

    ■ Installation 

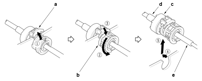
    1. Align the socket holder (f) on the change wire (g) with the slot in the shift lever housing. (Figure 4)

    NOTE:

    Do not install the change wire by holding the change wire guide (h). (Figure 4)

    Figure 4 

    GHH652224Courtesy of HONDA, U.S.A., INC.

    2. Slide the socket holder and the change wire into the shift lever housing. (Figure 4)

    3. Unlock the retainer lock (i). (Figure 4)

    4. Rotate the socket holder retainer (k) clockwise until it stops, and push the retainer lock into the socket holder retainer to lock the retainer. (Figure 4)

    5. Refer to figure 5.

    Figure 5 

    GHH652225Courtesy of HONDA, U.S.A., INC.

    6. Refer to figure 6.

    Figure 6 

    GHH652226Courtesy of HONDA, U.S.A., INC.
  9. I.-
    GHH652227Courtesy of HONDA, U.S.A., INC.
  10. J.-
    GHH652228Courtesy of HONDA, U.S.A., INC.
  11. K.-
    GHH652229Courtesy of HONDA, U.S.A., INC.
  12. L.-
    GHH652230Courtesy of HONDA, U.S.A., INC.
  13. M.-
    GHH652231Courtesy of HONDA, U.S.A., INC.
  14. N.-
    GHH652232Courtesy of HONDA, U.S.A., INC.
  15. O.-
    GHH652233Courtesy of HONDA, U.S.A., INC.
  16. P.-

    Sub-Procedure 

    GHH652234Courtesy of HONDA, U.S.A., INC.

    ■ Removal 

    • Refer to the figure.
  17. Q.-

    Sub-Procedure 

    GHH652235Courtesy of HONDA, U.S.A., INC.

    ■ Removal 

    • Refer to the figure.
  18. R.-

    Sub-Procedure 

    ■ Removal 

    • Refer to the figure.
    GHH652236Courtesy of HONDA, U.S.A., INC.
  19. S.-

    Sub-Procedure 

    GHH652237Courtesy of HONDA, U.S.A., INC.

    ■ Removal 

    • Refer to the figure.
  20. T.-
    GHH652238Courtesy of HONDA, U.S.A., INC.
  21. U.-

    Sub-Procedure 

    GHH652239Courtesy of HONDA, U.S.A., INC.

    ■ Removal 

    • Refer to the figure.
  22. V.-
    GHH652240Courtesy of HONDA, U.S.A., INC.
  23. W.-
    GHH652241Courtesy of HONDA, U.S.A., INC.
  24. X.-
    GHH652242Courtesy of HONDA, U.S.A., INC.