LEMON Manuals: Even more car manuals for everyone: 1960-2025
Home >> Acura >> 2025 >> Integra Base >> Repair and Diagnosis (Single Page) >> Electrical >> Component Locations >> Electrical Component Locator And Service Information : Front Damper/Spring Components >> Exploded View >> Front Damper/Spring Components >> Repair Procedure
April 5, 2026: LEMON Manuals is launched! Read the announcement.

Repair Procedure

How to use this service information .

NOTE:

Unless otherwise indicated, illustrations used in the procedure are for except Type-S.

GHH654721Courtesy of HONDA, U.S.A., INC.

: Torque, N.m (lbf.ft)

: Replace

: Warning/Caution

: Inspection/Adjustment

*: Learning

: SPL Tool

: Required Removal

*1: Except Type-S

*2: Type-S

  1. A.-

    Sub-Procedure 

    GHH654722Courtesy of HONDA, U.S.A., INC.

    ■ Installation 

    • Push the bump stop (a) into the dent (b) of the damper mounting base securely.
  2. B.-

    Sub-Procedure 

    GHH654723Courtesy of HONDA, U.S.A., INC.

    ■ Installation 

    Specifications 

    Specification
    a No Clearance
    b
  3. C.-

    Sub-Procedure 

    ■ Removal 

    NOTICE: 

    Do not compress the spring more than necessary.

    • Refer to figure 1.

    Tool Details (Figure 1) 

    Name
    a Spring Compressor (Commercially Available) or Equivalent Tool
    b Hex Wrench (Commercially Available)

    Figure 1 

    GHH654724Courtesy of HONDA, U.S.A., INC.

    ■ Installation 

    NOTICE: 

    Do not compress the spring excessively.

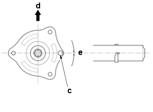
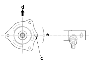
    1. Align the angle of the guide pin (c) on the damper mounting base with the aligning tab (d) on the bottom of the damper unit. (Figure 2)

    Vehicle Directions (Figure 2 and 3) 

    Position Direction
    d Front

    Specifications (Figure 2 and 3) 

    Standard Value
    e 0 deg. +/- 3 deg.

    Figure 2 (Except Type-S) 

    GHH654725Courtesy of HONDA, U.S.A., INC.

    Figure 3 (Type-S) 

    GHH654726Courtesy of HONDA, U.S.A., INC.

    2. Refer to figure 4.

    NOTE:
    • Make sure that the dust cover (g) is properly positioned into the raised portion (h) of the damper unit. (Figure 4)
    • Make sure that the tab (i) of the lower spring seat rubber is properly installed into the damper unit. (Figure 4)

    Tool Details (Figure 4) 

    Name
    k Spring Compressor (Commercially Available) or Equivalent Tool
    m Hex Wrench (Commercially Available)

    Figure 4 

    GHH654727Courtesy of HONDA, U.S.A., INC.