LEMON Manuals: Even more car manuals for everyone: 1960-2025
Home >> Acura >> 2025 >> Integra Base >> Repair and Diagnosis (Single Page) >> Quick Lookups >> Electrical Component Locations >> Electrical Component Locator And Service Information : Alternator Components(1.5L Engine) >> Exploded View >> Alternator Components (1.5L Engine) >> Repair Procedure
April 5, 2026: LEMON Manuals is launched! Read the announcement.

Repair Procedure

How to use this service information .

GHH651318Courtesy of HONDA, U.S.A., INC.

: Torque, N.m (lbf.ft)

: Replace

: Warning/Caution

: Inspection/Adjustment

*: Learning

: SPL Tool

: Required Removal

GHH651319Courtesy of HONDA, U.S.A., INC.

: Torque, N.m (lbf.ft)

: Replace

: Warning/Caution

: Inspection/Adjustment

*: Learning

: SPL Tool

: Required Removal

  1. A.-

    Sub-Procedure 

    NOTICE: 

    While the cap is off, the grease inside the OAD pulley is exposed. Do not wipe the grease off, and make sure it does not become contaminated.

    GHH651320Courtesy of HONDA, U.S.A., INC.

    ■ Removal 

    • Remove the OAD pulley seal cap by piercing the center of the rubber cap with a flat screwdriver and prying it loose.

    ■ Installation 

    NOTICE: 

    • Do not distort the OAD pulley seal cap.
    • Make sure that the cap is installed securely.
  2. B.-

    Sub-Procedure 

    NOTICE: 

    While the cap is off, the grease inside the OAD pulley is exposed. Do not wipe the grease off, and make sure it does not become contaminated.

    GHH651321Courtesy of HONDA, U.S.A., INC.

    ■ Removal 

    • Turn the alternator shaft clockwise.
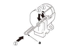
  3. C.-

    Sub-Procedure 

    GHH651322Courtesy of HONDA, U.S.A., INC.

    ■ Installation 

    Pin Specifications 

    Standard Value
    a About 1.6 mm (1/16 in)
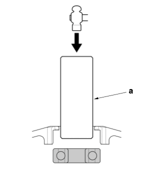
  4. D.-
    GHH651323Courtesy of HONDA, U.S.A., INC.

    Sub-Procedure 

    ■ Removal 

    • Refer to the figure.
  5. E.-

    Sub-Procedure 

    Figure 1 

    GHH651324Courtesy of HONDA, U.S.A., INC.

    ■ Removal 

    Tool Details (Figure 1) 

    Name
    a Brass Drift (Commercially Available)

    Figure 2 

    GHH651325Courtesy of HONDA, U.S.A., INC.

    ■ Installation 

    Specifications (Figure 2) 

    Specification
    b No Clearance