Repair Procedure
: Torque, N.m (lbf.ft)
: Replace
: Warning/Caution
: Inspection/Adjustment
*: Learning
: SPL Tool
: Required Removal
*1: With dual zone climate control
: Torque, N.m (lbf.ft)
: Replace
: Warning/Caution
: Inspection/Adjustment
*: Learning
: SPL Tool
: Required Removal
*1: With dual zone climate control *2: Without auto idle stop system *3: With auto idle stop system
- A.-
Key Information
Do the following before starting your work.
Remove:
Sub-Procedure
Removal
- Refer to the Figure.
- B.-
Key Information
Do the following before starting your work.
Remove:
Sub-Procedure
Removal
- Refer to the Figure.
- C.-
- D.-
Preconditions
- Set the driver's temperature to MAX COOL (Lo).
Key Information
Do the following before starting your work.
Remove:
Sub-Procedure
Installation
NOTICE:
Before installation, make sure the door and linkage move smoothly.
1. Align the driver's air mix control linkage (a) and mark (b).
2. Align the driver's air mix control linkage gear (c) and driver's air mix control motor gear (d), then install the motor.
After Installation
- E.-
Key Information
Do the following before starting your work.
Remove:
Sub-Procedure
Removal
- Refer to the Figure.
- F.-
Preconditions
- Set to the VENT (
) position.
Key Information
Do the following before starting your work.
Remove:
Sub-Procedure
Installation
NOTICE:
Before installation, make sure the door and linkage move smoothly.
- Align the mode control linkage (a) and mark (b).
After Installation
- Set to the VENT (
- G.-
Preconditions
- Set the front passenger's temperature to MAX COOL (Lo).
Key Information
Do the following before starting your work.
Remove:
Sub-Procedure
Installation
NOTICE:
Before installation, make sure the door and linkage move smoothly.
1. Align the passenger's air mix control linkage (a) and mark (b).
2. Align the passenger's air mix control linkage gear (c) and passenger's air mix control motor gear (d), then install the motor.
After Installation
- H.-
Key Information
Do the following before starting your work.
Remove:
- I.-
Preconditions
- Set the driver's and front passenger's temperature to MAX COOL (Lo), FRESH, and VENT (
) position.
Key Information
Do the following before starting your work.
Remove:
- Set the driver's and front passenger's temperature to MAX COOL (Lo), FRESH, and VENT (
- J.-
Preconditions
- Set to the FRESH position.
Key Information
Do the following before starting your work.
Remove:
- Glove Box Back Cover (Without stereo amplifier)
- Blower Unit (With stereo amplifier)
Sub-Procedure
Installation
NOTICE:
Before installation, make sure the door and linkage move smoothly.
- Align the recirculation control linkage gear (a) and recirculation control motor gear (b), then install the motor.
After Installation
- K.-
Key Information
Do the following before starting your work.
Remove:
After Installation
- L.-
Key Information
Do the following before starting your work.
Remove:
Sub-Procedure
Removal
- Refer to the Figure.
- M.-
After Installation
- With Maintenance Minder System: If the Maintenance Minder indicated that the dust and pollen filter needed replacement, reset the Maintenance Minder with the gauge . If the Maintenance Minder did not indicate that the dust and pollen filter needed replacement, reset the Maintenance Minder with the HDS .
- N.-
Key Information
Do the following before starting your work.
Remove:
- O.-
Preconditions
- Set the driver's and front passenger's temperature to MAX COOL (Lo), FRESH, and VENT (
) position.
- A/C Refrigerant Recovered
- Engine Coolant Drained - Refer to: Coolant Replacement (2.0L Engine) (2024 2025) or Coolant Check (2.0L Engine) (2024 2025) or Coolant Check (1.5L Engine) or Coolant Replacement (1.5L Engine)
Key Information
Do the following before starting your work.
Remove:
Disconnect:
- A/C Line - Refer to: A/C Condenser Area (2.0L Engine) (2024 2025) or A/C Condenser Area (1.5L Engine)
Sub-Procedure
Removal
NOTICE:
Engine coolant will run out when the hoses are disconnected; drain it into a clean drip pan. Be sure not to let coolant spill on the electrical parts or the painted surfaces. If any coolant spills, rinse it off immediately.
Installation
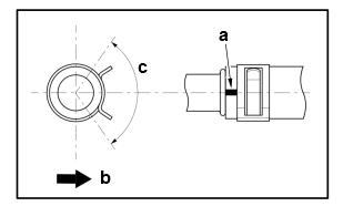
- Refer to the Figure.
Heater Hose Installation Directions (Upper and Lower)
Position Direction a Vehicle Right Side b Vehicle Right Side Specifications (Upper and lower)
Standard Value c 110 deg. After Installation
- Engine Coolant Refill - Refer to: Coolant Replacement (2.0L Engine) (2024 2025) or Coolant Check (2.0L Engine) (2024 2025) or Coolant Check (1.5L Engine) or Coolant Replacement (1.5L Engine)
- A/C Refrigerant Evacuate and Charge
- A/C System Test - Refer to: A/C System Contamination Inspection or A/C System Test or A/C System Inspection
- Set the driver's and front passenger's temperature to MAX COOL (Lo), FRESH, and VENT (
- P.-
- Q.-
Preconditions
- Engine Coolant Drained - Refer to: Coolant Replacement (2.0L Engine) (2024 2025) or Coolant Check (2.0L Engine) (2024 2025) or Coolant Check (1.5L Engine) or Coolant Replacement (1.5L Engine)
After Installation
- Engine Coolant Refill - Refer to: Coolant Replacement (2.0L Engine) (2024 2025) or Coolant Check (2.0L Engine) (2024 2025) or Coolant Check (1.5L Engine) or Coolant Replacement (1.5L Engine)
- R.-
Key Information
Do the following before starting your work.
Remove:
- Expansion Valve - Refer to: A/C Condenser Area (2.0L Engine) (2024 2025) or A/C Condenser Area (1.5L Engine)
Sub-Procedure
Removal
- Refer to the Figure.
- S.-
Sub-Procedure
Removal
- Refer to the Figure.
- T.-
Preconditions
Key Information
Do the following before starting your work.
Remove:
- Expansion Valve - Refer to: A/C Condenser Area (2.0L Engine) (2024 2025) or A/C Condenser Area (1.5L Engine)
After Installation
- A/C Refrigerant Evacuate and Charge
- A/C System Test - Refer to: A/C System Test or A/C System Contamination Inspection or A/C System Inspection
- U.-
Sub-Procedure
Without Auto Idle Stop System (Figure 1)
With Auto Idle Stop System (Figure 2)
Installation
- Install the evaporator temperature sensor (a) in the evaporator core (b). Refer to the following position list. (Figure 1 and 2)
Specifications (Without Auto Idle Stop System: Factory-Preset Position) (Figure 1)
Standard Value c 9th (Row) d 50 mm (1.97 in) Specifications (Without Auto Idle Stop System: New Position) (Figure 1)
Standard Value c 10th (Row) d 50 mm (1.97 in) Specifications (With Auto Idle Stop System: Factory-Preset Position) (Figure 2)
Standard Value e 8th (Row) f 25 mm (0.98 in) Specifications (With Auto Idle Stop System: New Position) (Figure 2)
Standard Value e 8th (Row) f 15 mm (0.59 in)