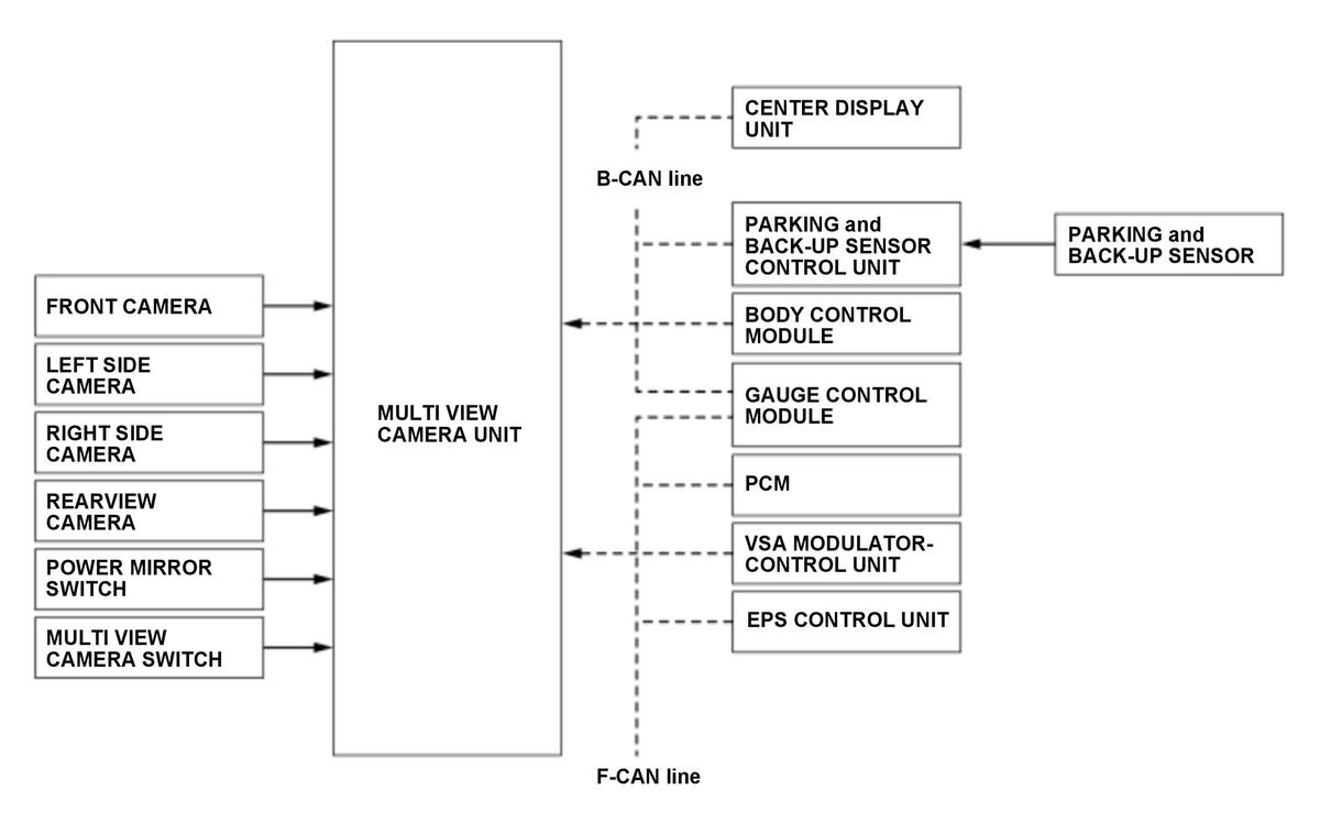
Multi View Camera System (MVCS) Description - System Diagram
The Multi View Camera System's unit first processes the image inputs (from the four wide-angle cameras), steering angle inputs (from the steering angle sensor), vehicle speed inputs (from the F-CAN), and switch inputs (from the related units) to send image signals or change view commands to the center display unit.
For locations of each component on vehicle, refer to Component Location Index:
- Center Display Unit, Rearview Camera
- EPS control unit
- Front Camera, Multi View Left Side Camera, Multi View Right Side Camera, Multi View Camera Unit, Multi View Camera Switch
- Gauge Control Module
- Parking and Back-Up Sensor Control Unit, Parking and Back-Up Sensor
- PCM - Refer to: Fuel and Emissions Systems Component Location Index(Mexico models) or Fuel and Emissions Systems Component Location Index(Mexico models)
- Power Mirror Switch
- VSA Modulator-Control Unit