LEMON Manuals: Even more car manuals for everyone: 1960-2025
Home >> Alfa Romeo >> 2017 >> Giulia Base, AWD >> Repair and Diagnosis (Single Page) >> Quick Lookups >> Electrical Component Locations >> Connector End Views & Electrical Component Locations (5 Of 11) >> Module-Chassis Domain Control (Standard) Connector End View (D2556A)
April 5, 2026: LEMON Manuals is launched! Read the announcement.

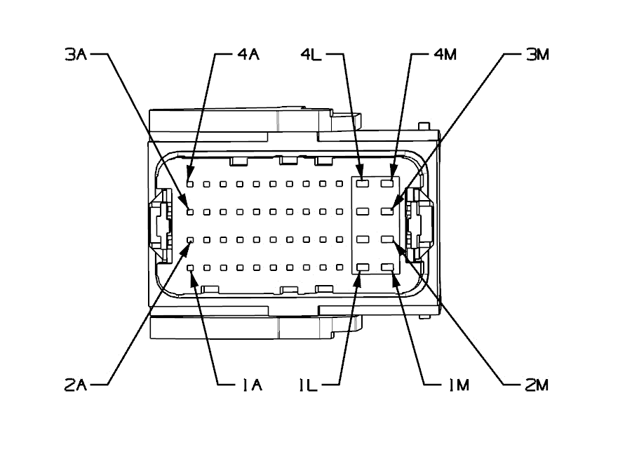
Module-Chassis Domain Control (Standard) Connector End View (D2556A)

Harness-Family: Body

Color: BLACK

Gender: FEMALE

Part Number: 0/14683/07

Part Description: Not Available

Connector No: D2556A

Option: Standard

Repair Kit Part Number: Not Available

Cavity Count: null

Fig 1: Module-Chassis Domain Control Connector End View (Standard)
GCWD1204743Courtesy of CHRYSLER
Fig 2: Module-Chassis Domain Control Component Location (Standard)
GCWD1267336Courtesy of CHRYSLER
Pin Circuit Wire Color Gauge/Size Function Option
A1 S182 DB/YE 0.5 WHEEL ACCELERATION SENSOR SIGNAL FT RT PREMIUM
A2 S184 WH/GN 0.5 WHEEL ACCELERATION SENSOR RTN FT RT PREMIUM
A4 D51 BN/WH 0.5 CAN CH (-) PREMIUM
B1 S165 WH/BK 0.5 BODY ACCELERATION SENSOR SIGNAL FT RT PREMIUM
B2 S164 WH/GN 0.5 BODY ACCELERATION SENSOR RTN FT RT PREMIUM
B4 D52 GN/WH 0.5 CAN CH (+) PREMIUM
C1 S183 GY/GN 0.5 WHEEL ACCELERATION SENSOR SIGNAL FT LT PREMIUM
C2 S185 WH/GN 0.5 WHEEL ACCELERATION SENSOR RTN FT LT PREMIUM
C4 D51 BN/WH 0.5 CAN CH (-) PREMIUM
D1 S162 WH/BK 0.5 BODY ACCELERATION SENSOR SIGNAL FT LT PREMIUM
D2 S161 WH/YE 0.5 BODY ACCELERATION SENSOR RTN FT LT PREMIUM
D4 D52 GN/WH 0.5 CAN CH (+) PREMIUM
E4 D12 BN 0.5 CAN C (-) 2.2L EU6 STABILITY CONTROL/ELECTRONIC DIFFERENTIAL
F1 S136 BN/GY 0.5 DAMPER VALVE (+) RR RT PREMIUM
F2 S137 WH/VT 0.5 DAMPER VALVE (-) RR RT PREMIUM
F4 D11 GN 0.5 CAN C (+) 2.2L EU6 STABILITY CONTROL/ELECTRONIC DIFFERENTIAL
G1 S134 BN/BK 0.5 DAMPER VALVE (+) RR LT PREMIUM
G2 S135 WH/BK 0.5 DAMPER VALVE (-) RR LT PREMIUM
H1 S132 DB/RD 0.5 DAMPER VALVE (+) FT RT PREMIUM
H2 S133 WH/GN 0.5 DAMPER VALVE (-) FT RT PREMIUM
J1 S130 DB/GN 0.5 DAMPER VALVE (+) FT LT PREMIUM
J2 S131 WH/DB 0.5 DAMPER VALVE (-) FT LT PREMIUM
K1 F342 DB/WH 0.5 FUSED ASD RELAY OUTPUT PREMIUM
L1 Z365 BK 2 GROUND PREMIUM
L2 A923 WH/RD 2 SWITCHED B(+) PREMIUM
M1 Z365 BK 2 GROUND PREMIUM
M2 A901 RD 1.5 FUSED B(+) PREMIUM
(1) Pins not listed are not used for this connector