LEMON Manuals: Even more car manuals for everyone: 1960-2025
Home >> Alfa Romeo >> 2017 >> Giulia Base, AWD >> Repair and Diagnosis (Single Page) >> Quick Lookups >> Electrical Component Locations >> Connector End Views & Electrical Component Locations (5 Of 11) >> Module-Entertainment-Multimedia Control C2 (Standard) Connector End View (D2275B)
April 5, 2026: LEMON Manuals is launched! Read the announcement.

Module-Entertainment-Multimedia Control C2 (Standard) Connector End View (D2275B)

Harness-Family: Console_Center

Color: GRAY

Gender: MALE

Part Number: 1/13355/96

Part Description: Not Available

Connector No: D2275B

Option: Standard

Repair Kit Part Number: Not Available

Cavity Count: null

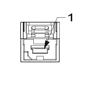
Fig 1: Module-Entertainment-Multimedia Control C2 Connector End View (Standard)
GCWD1000080Courtesy of CHRYSLER
Fig 2: Module-Entertainment-Multimedia Control C2 Component Location (Standard)
GCWD1267631Courtesy of CHRYSLER
Pin Circuit Wire Color Gauge/Size Function Option
1 X457 BK 5.2 UCI USB RADIO DATA (+) PREMIUM
(1) Pins not listed are not used for this connector