LEMON Manuals: Even more car manuals for everyone: 1960-2025
Home >> Alfa Romeo >> 2017 >> Giulia Base, AWD >> Repair and Diagnosis (Single Page) >> Quick Lookups >> Electrical Component Locations >> Connector End Views & Electrical Component Locations (6 Of 11) >> Module-Leak Detection (Standard) Connector End View (D6623A)
April 5, 2026: LEMON Manuals is launched! Read the announcement.

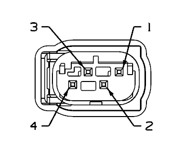
Module-Leak Detection (Standard) Connector End View (D6623A)

Harness-Family: Body

Color: BLACK

Gender: FEMALE

Part Number: 1/13359/97

Part Description: Not Available

Connector No: D6623A

Option: Standard

Repair Kit Part Number: Not Available

Cavity Count: null

Fig 1: Module-Leak Detection Connector End View (Standard)
GCWD1090133Courtesy of CHRYSLER
Fig 2: Module-Leak Detection Component Location (Standard)
GCWD1268138Courtesy of CHRYSLER
Pin Circuit Wire Color Gauge/Size Function Option
1 N46 RD 0.5 LEAK DETECTION PUMP CONTROL 2.9L
2 N47 GN 0.5 LEAK DETECTION PRESSURE SENSOR 2.9L
3 N48 DB/RD 0.5 FTIV CONTROL 2.9L
4 F342 OG/WH 0.5 FUSED ASD RELAY OUTPUT 2.9L
(1) Pins not listed are not used for this connector