LEMON Manuals: Even more car manuals for everyone: 1960-2025
Home >> Alfa Romeo >> 2017 >> Giulia Base, AWD >> Repair and Diagnosis (Single Page) >> Quick Lookups >> Electrical Component Locations >> Connector End Views & Electrical Component Locations (6 Of 11) >> Module-Occupant Restraint Controller C2 (Export) Connector End View (D3834B)
April 5, 2026: LEMON Manuals is launched! Read the announcement.

Module-Occupant Restraint Controller C2 (Export) Connector End View (D3834B)

Harness-Family: IP

Color: YELLOW

Gender: FEMALE

Part Number: 1/14268/01

Part Description: Not Available

Connector No: D3834B

Option: EXPORT

Repair Kit Part Number: Not Available

Cavity Count: null

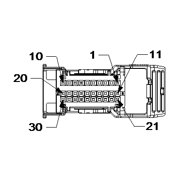
Fig 1: Module-Occupant Restraint Controller C2 Connector End View (EXPORT)
GCWD1244731Courtesy of CHRYSLER
Fig 2: Module-Occupant Restraint Controller C2 Component Location (EXPORT)
GCWD1267832Courtesy of CHRYSLER
Pin Circuit Wire Color Gauge/Size Function Option
2 R45 BN/YE 0.5 DRIVER SQUIB 1 LINE 1 EXPORT
3 R43 BN/GY 0.5 DRIVER SQUIB 1 LINE 2 EXPORT
10 F741 DB/YE 0.5 IGNITION RUN/START OUTPUT EXPORT
11 D11 GN 0.35 CAN C (+) EXPORT
12 R44 GY/GN 0.5 PASSENGER SQUIB 1 LINE 1 EXPORT
13 R42 DB/BK 0.5 PASSENGER SQUIB 1 LINE 2 EXPORT
21 D12 BN 0.35 CAN C (-) EXPORT
22 R167 GY/DB 0.35 AIRBAG ON LAMP PASSENGER EXPORT
23 R168 GY/WH 0.35 AIRBAG OFF LAMP PASSENGER EXPORT
26 R79 BN 0.35 LEFT FRONT IMPACT SENSOR SIGNAL EXPORT
27 R81 BN/BK 0.35 LEFT FRONT IMPACT SENSOR GROUND EXPORT
(1) Pins not listed are not used for this connector