LEMON Manuals: Even more car manuals for everyone: 1960-2025
Home >> Alfa Romeo >> 2017 >> Giulia Base, AWD >> Repair and Diagnosis (Single Page) >> Quick Lookups >> Electrical Component Locations >> Connector End Views & Electrical Component Locations (7 Of 11) >> Module-Security Gateway C2 (Standard) Connector End View (D3921B)
April 5, 2026: LEMON Manuals is launched! Read the announcement.

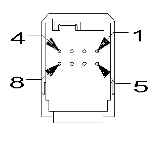
Module-Security Gateway C2 (Standard) Connector End View (D3921B)

Harness-Family: IP

Color: BLACK

Gender: FEMALE

Part Number: 0/14456/87

Part Description: Not Available

Connector No: D3921B

Option: Standard

Repair Kit Part Number: Not Available

Cavity Count: null

Fig 1: Module-Security Gateway C2 Connector End View (Standard)
GCWD1244736Courtesy of CHRYSLER
Fig 2: Module-Security Gateway C2 Component Location (Standard)
GCWD1267804Courtesy of CHRYSLER
Pin Circuit Wire Color Gauge/Size Function Option
1 D437 DB 0.35 CAN IHS (+) AT N/A
2 D434 DB 0.35 DIAGNOSTIC CAN IHS (+) N/A
3 D157 DB 0.35 CAN IHS (+) N/A
4 Z221 BK 0.5 GROUND N/A
5 A901 RD/WH 0.5 FUSED B(+) N/A
6 D438 WH 0.35 CAN IHS (-) AT N/A
7 D433 WH 0.35 DIAGNOSTIC CAN IHS (-) N/A
8 D158 WH 0.35 CAN IHS (-) N/A
(1) Pins not listed are not used for this connector