LEMON Manuals: Even more car manuals for everyone: 1960-2025
Home >> Alfa Romeo >> 2017 >> Giulia Base, AWD >> Repair and Diagnosis (Single Page) >> Quick Lookups >> Electrical Component Locations >> Connector End Views & Electrical Component Locations (7 Of 11) >> Module-Steering Column Control C2 (Standard) Connector End View (D3816B)
April 5, 2026: LEMON Manuals is launched! Read the announcement.

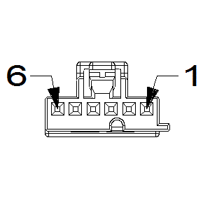
Module-Steering Column Control C2 (Standard) Connector End View (D3816B)

Harness-Family: IP

Color: YELLOW

Gender: FEMALE

Part Number: 1/14526/81

Part Description: Not Available

Connector No: D3816B

Option: Standard

Repair Kit Part Number: Not Available

Cavity Count: null

Fig 1: Module-Steering Column Control C2 Connector End View (Standard)
GCWD1000261Courtesy of CHRYSLER
Fig 2: Module-Steering Column Control C2 Component Location (Standard)
GCWD1267736Courtesy of CHRYSLER
Pin Circuit Wire Color Gauge/Size Function Option
1 R67 OG/GN 0.5 DRIVER SQUIB 3 LINE 2 N/A
2 R69 GN/WH 0.5 DRIVER SQUIB 3 LINE 1 N/A
3 R45 BN/YE 0.5 DRIVER SQUIB 1 LINE 1 N/A
4 R43 BN/GY 0.5 DRIVER SQUIB 1 LINE 2 N/A
5 R63 GN/YE 0.5 DRIVER SQUIB 2 LINE 1 N/A
5 R45 BN/YE 0.5 DRIVER SQUIB 1 LINE 1 EXPORT
6 R61 GN/BK 0.5 DRIVER SQUIB 2 LINE 2 N/A
6 R43 BN/GY 0.5 DRIVER SQUIB 1 LINE 2 EXPORT
(1) Pins not listed are not used for this connector