LEMON Manuals: Even more car manuals for everyone: 1960-2025
Home >> Audi >> 1994 >> 90 CS, 2.8 K, Automatic >> Repair and Diagnosis >> Engine Performance >> Remove, Overhaul & Install >> Engine Controls - Remove/Install/Overhaul >> Fuel System >> Fuel Pump >> Removal & Installation
April 5, 2026: LEMON Manuals is launched! Read the announcement.

Removal & Installation

  1. Observe fuel system warnings and notes. Release fuel pressure. See FUEL SYSTEM PRESSURE RELEASE  . Turn ignition off and remove ignition key from vehicle. Disconnect negative battery cable. Working in luggage compartment, remove fuel pump access plate. Noting orientation of fuel lines, mark and remove 4 fuel lines. Disconnect fuel pump and fuel level sensor harness connector.
  2. Using Union Nut Wrench (3087), remove union nut. Remove cover flange and "O" ring seal. Disconnect fuel level sensor harness connector from inside of flange cover. Disconnect return line from inside of cover flange. See Fig 1 .
  3. Insert Fuel Pump Wrench (3214) through opening in fuel tank, turn fuel pump along with inner section of baffle housing about .59" (15 mm) to the left. See Fig 2 . Remove fuel pump assembly through opening.
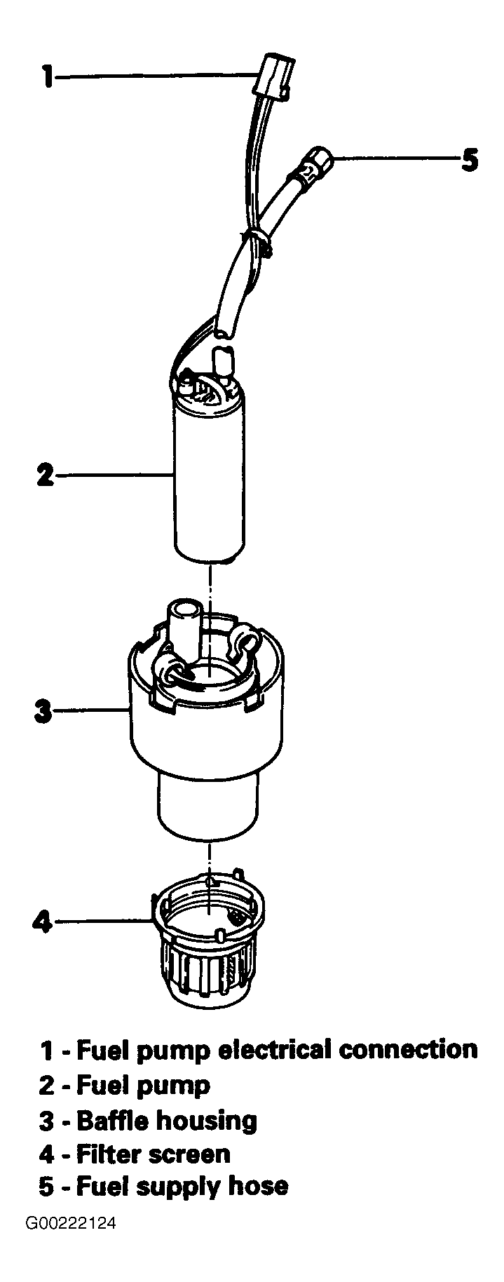
  4. Remove supply line from fuel pump. Remove power and ground wires from fuel pump. Fuel pump baffle housing come in 2 different versions. Type 1 uses a bayonet style fitting for filter screen, type 2 uses a welded filter screen. Ensure that appropriate style baffle housing is fitted. See Fig 3 .
  5. Install new fuel pump to baffle housing. Connect power and ground wires to fuel pump. Connect fuel supply line to fuel pump. Install fuel pump assembly through opening. Place inner baffle housing into outer housing so that notch (1) on inner housing matches mark (2) on outer housing. See Fig 4 . When installing inner housing an audible click should be heard when housing is seated. Using fuel pump wrench turn inner housing about .59" (15 mm) to the right. Notch (1) on inner housing should now match mark (3) on outer housing.
  6. Connect return line and fuel level sensor harness connector to cover flange. Using NEW "O" ring seal install cover flange. Install union nut, using union nut wrench torque nut to 15 ft. lbs. (20 N.m). Connect harness connector and fuel lines. Re-install cover plate. Connect negative battery cable. Reprogram radio, clock and power windows as necessary.
Fig 1: Removing & Installing Fuel Pump (1 Of 2)
G00077126Courtesy of AUDI OF AMERICA, INC.
Fig 2: Removing & Installing Fuel Pump (2 Of 2)
G00222123Courtesy of VOLKSWAGEN UNITED STATES, INC.
Fig 3: Exploded View Of Fuel Pump Assembly With Baffle Housing (Type 1 Shown)
G00222124Courtesy of VOLKSWAGEN UNITED STATES, INC.
Fig 4: Installing Fuel Pump
G00077122Courtesy of AUDI OF AMERICA, INC.