LEMON Manuals: Even more car manuals for everyone: 1960-2025
Home >> Audi >> 2006 >> A4 Base, 2D Convertible >> Repair and Diagnosis >> External Pages >> Different variant/trim >> Section 16 (Communication) >> 91 - Communication >> Navigation system II-D (Navigation System Plus) >> Navigation system II-D, overview >> Sedan
April 5, 2026: LEMON Manuals is launched! Read the announcement.

Navigation system II-D, overview: Sedan

WARNING: This page is about a different variant/trim than selected.
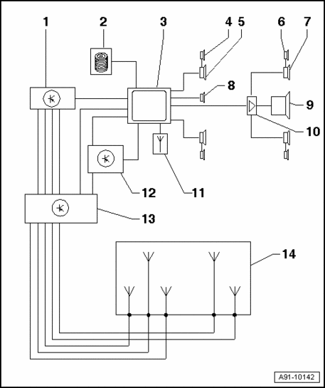
Fig 1: Navigation System II-D, Sedan Overview
GW00021474Courtesy of VOLKSWAGEN UNITED STATES, INC.

1 - Navigation/TV Tuner J415 behind luggage compartment left side trim

2 - CD Changer R41 in glove compartment

3 - Operating Electronics, Navigation Control Module J402 in top of center console

4 - Left Front Midrange Speaker R26 / Right Front Midrange Speaker R27 at top in front doors

5 - Left Front Bass Speaker R21 / Right Front Bass Speaker R23 at bottom in front doors

6 - Left Rear Midrange Speaker R34 / Right Rear Midrange Speaker R35 at top in rear doors

7 - Left Rear Bass Speaker R15 / Right Rear Bass Speaker R17 at bottom in rear doors

8 - Inside Loudspeaker R70 in front center instrument panel

9 - Bass Loudspeaker R100 in parcel shelf

10 - Amplifier R12 behind luggage compartment right side trim

11 - Navigation System Antenna R50 behind roof end trim

12 - Navigation Interface R94 behind luggage compartment left side trim

13 - Antenna Selection Control Module J515 behind roof end trim

14 - Rear window antennas AM/FM/TV