LEMON Manuals: Even more car manuals for everyone: 1960-2025
Home >> Audi >> 2007 >> A3 Base, Automatic DCT >> Repair and Diagnosis (Single Page) >> Quick Lookups >> Wiring Diagrams >> OEM Connector End Views >> Connector End Views >> Engine Control Module (ECM) Connector End View (J623, T81, T40)
April 5, 2026: LEMON Manuals is launched! Read the announcement.

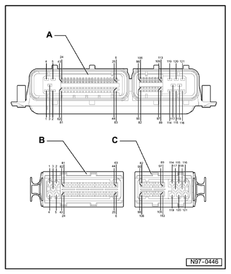
Engine Control Module (ECM) Connector End View (J623, T81, T40)

Fig 1: Engine Control Module (ECM) Connector End View (J623, T81, T40)
G10359720Courtesy of AUDI OF AMERICA, LLC
A Engine Control Module (ECM) -J623- Connector
B 81-Pin Connector-T81-
C 40-Pin Connector -T40-
NOTE: T121-consists of items B and C