LEMON Manuals: Even more car manuals for everyone: 1960-2025
Home >> Audi >> 2007 >> A3 Base, Automatic DCT >> Repair and Diagnosis (Single Page) >> Quick Lookups >> Wiring Diagrams >> OEM Connector End Views >> Connector End Views >> Fuel Pump (FP) Control Module Connector End View (J538, T10b)
April 5, 2026: LEMON Manuals is launched! Read the announcement.

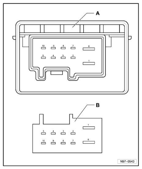
Fuel Pump (FP) Control Module Connector End View (J538, T10b)

Fig 1: Fuel Pump (FP) Control Module Connector End View (J538, T10b)
G10359731Courtesy of AUDI OF AMERICA, LLC
A Fuel Pump (FP) Control Module -J538- Connector
B 10-Pin Connector -T10b-