LEMON Manuals: Even more car manuals for everyone: 1960-2025
Home >> Audi >> 2008 >> R8 >> Repair and Diagnosis (Single Page) >> Electrical >> Body Electrical >> OEM Connector End Views >> Connector End Views >> Engine Control Module (ECM) And Engine Control Module (ECM) 2 Connector End View (J623, J624, T94a, T60a)
April 5, 2026: LEMON Manuals is launched! Read the announcement.

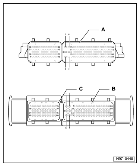
Engine Control Module (ECM) And Engine Control Module (ECM) 2 Connector End View (J623, J624, T94a, T60a)

Fig 1: Engine Control Module (ECM) And Engine Control Module (ECM) 2 Connector End View (J623, J624, T94a, T60a)
G10359903Courtesy of AUDI OF AMERICA, LLC
A Engine Control Module (ECM) -J623-/Engine Control Module (ECM) 2 -J624-
B 94-Pin Connector -T94-/94-Pin Connector -T94a-, black
C 60-Pin Connector -T60-/60-Pin Connector -T60a-, black