LEMON Manuals: Even more car manuals for everyone: 1960-2025
Home >> Audi >> 2009 >> A6 Base >> Repair and Diagnosis (Single Page) >> Accessories & Equipment >> Communication Devices >> Communication >> 91 Communication >> Description And Operation >> Microphone Unit in Front Roof Module -R164- OVERVIEW FROM MY 07
April 5, 2026: LEMON Manuals is launched! Read the announcement.

Microphone Unit in Front Roof Module -R164- OVERVIEW FROM MY 07

The Microphone Unit (In Front Roof Module) -R164- in installed in the Front Interior Light -W1-. Depending on the equipment, there are up to three microphones installed.

One microphone (Interior Microphone -R74-) is connected directly to the Digital Sound System Control Module -J525-.

Fig 1: Identifying Microphone Unit (In Front Roof Module) R164 From MY07
GWWA91-10479Courtesy of AUDI OF AMERICA, LLC
  1. Microphone (blue) for the Digital Sound System Control Module -J525- (LHD vehicle)/Telephone Transceiver -R36- (RHD vehicle)
  2. Interior Monitoring Transceiver Module 1 -G303-
  3. Microphone (black) to the Telephone Transceiver -R36- (LHD vehicle)/Digital Sound System Control Module -J525- (RHD vehicle)
  4. Interior microphone -R74- (black) for the digital sound system control module -J525- (all vehicle with BOSE)
  5. Blue 6-pin connector (T6ao)
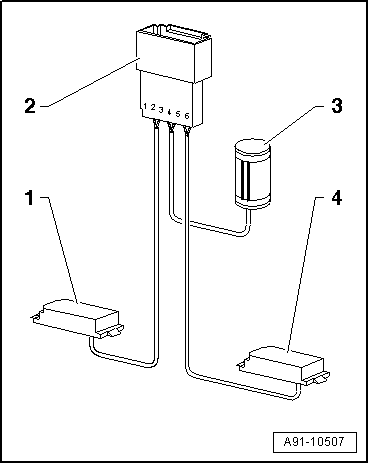
Fig 2: Identifying Multi-Pin Connector Assignments
GWWA91-10507Courtesy of AUDI OF AMERICA, LLC

LHD vehicle:

  1. Telephone Microphone -R38- (black):
  2. Blue 6-pin connector (T6ao), pins 1 and 2: telephone microphone -R38- (black), pins 3 and 4: interior microphone -R74- (black), pins 5 and 6: speech recognition system microphone -R206- (blue)
  3. Inside Microphone -R74- (black)
  4. Voice Recognition Microphone -R206- (blue)

RHD vehicle:

  1. Voice Recognition Microphone -R206- (blue)
  2. Blue 6-pin connector (T6ao), pins 1 and 2: telephone microphone -R206- (black), pins 3 and 4: interior microphone -R74- (black), pins 5 and 6: speech recognition system microphone -R38- (blue)
  3. Inside Microphone -R74- (black)
  4. Telephone Microphone -R38- (black):

Microphone Unit in Front Roof Module -R164-, Removing and Installing. Refer to MICROPHONE UNIT IN FRONT ROOF MODULE FROM MY 07 .